EasyManua.ls Logo

Morris PROAG 16K PLUS - Hose Clamp Locations - Stage 2

Morris PROAG 16K PLUS
190 pages
Print Icon
To Next Page IconTo Next Page
To Next Page IconTo Next Page
To Previous Page IconTo Previous Page
To Previous Page IconTo Previous Page
Loading...
16K PLUS October 2019 9-25
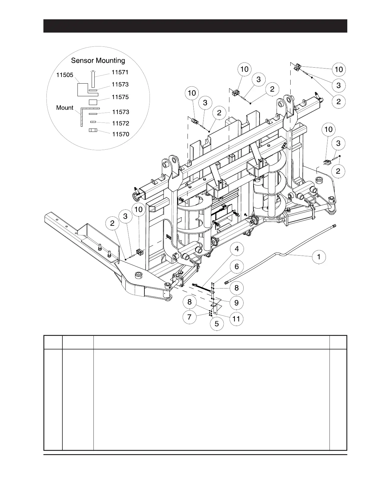
Hose Clamp Locations - Stage 2
Item Part No. Description Qty
1 11871 Hyd Hose - 1/2 x 139 ........................................................................................................ 1
2 D-5272 Locknut - 5/16 Nylon Insert (10231) .................................................................................. 5
3 10811 Set Screw - 5/16 x 2-1/2 Lg ............................................................................................... 5
4 11505 Sensor Assembly .............................................................................................................. 1
5 11570 Hex Nut - #12 - Brass ........................................................................................................ 2
6 11571 Machine Screw #12 x 1 Lg - Brass .................................................................................... 2
7 11572 Lockwasher - #12 x 0.216 ID - Brass ............................................................................... 2
8 11573 #12 Flat Washer - #12 - 0.25 ID x 0.562 OD Brass ........................................................... 4
9 11575 Spacer - 1/4 ID x 1/2 OD x 1/4Lg Nylon ............................................................................ 2
10 11740 Plastic Hose Clamp Assembly .......................................................................................... 5
11 12461 Sensor Bracket .................................................................................................................. 1

Table of Contents

Related product manuals