EasyManua.ls Logo

Omron CPM2C - Page 153

Omron CPM2C
325 pages
Print Icon
To Next Page IconTo Next Page
To Next Page IconTo Next Page
To Previous Page IconTo Previous Page
To Previous Page IconTo Previous Page
Loading...
130
Wiring and Connections Section 3-4
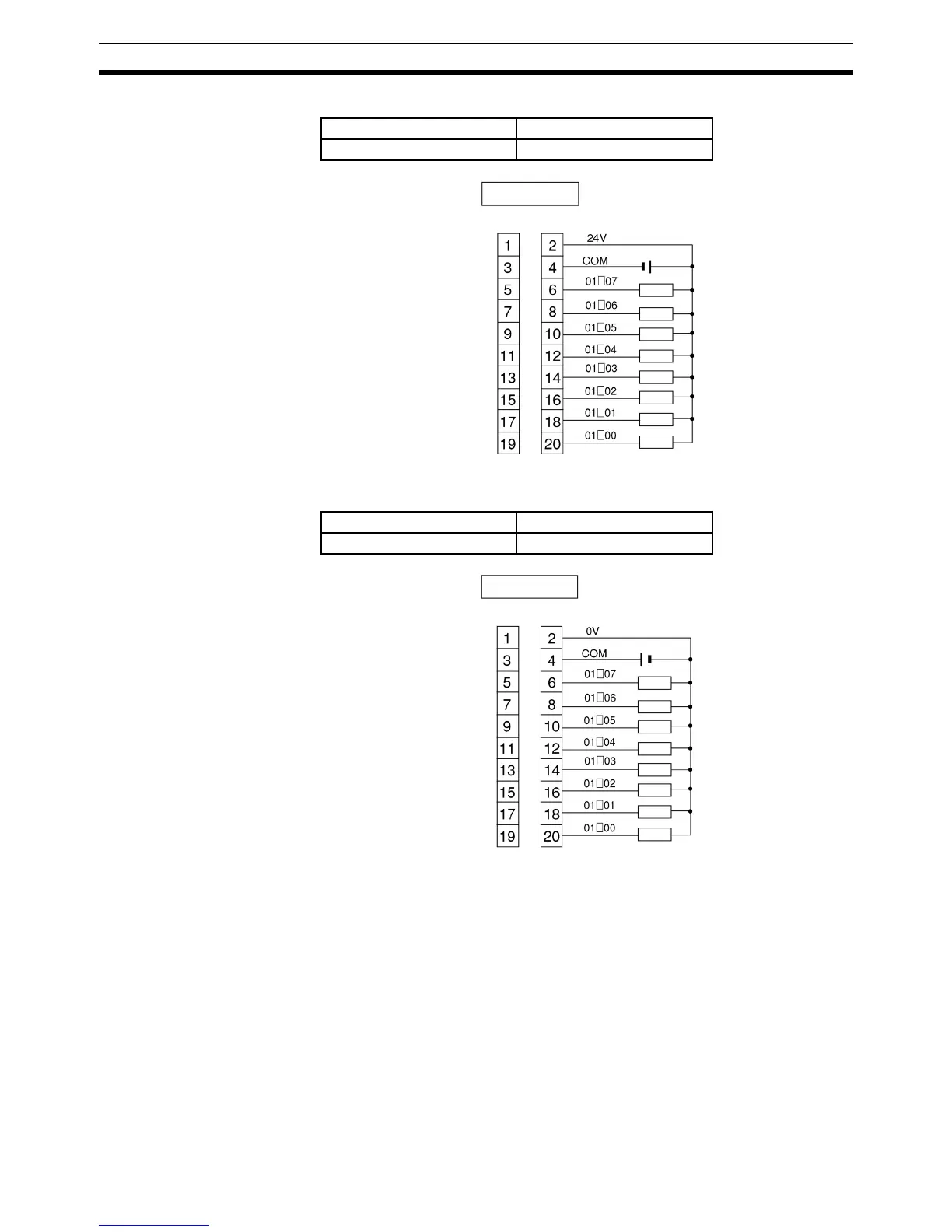
Expansion I/O Unit with 24 I/O Points Sinking Outputs: CPM2C-24EDTM
Expansion I/O Unit with 24 I/O Points, Sourcing Outputs:
CPM2C-24EDT1M
Output capacity Max. common capacity
300 mA (24 VDC) 2.4 A/common
Output capacity Max. common capacity
300 mA (24 VDC) 2.4 A/common
24 VDC
Outputs: IR word n
Load
Load
Load
Load
Load
Load
Load
Load
24 VDC
Outputs: IR word n
Load
Load
Load
Load
Load
Load
Load
Load

Table of Contents

Related product manuals