EasyManua.ls Logo

Pfaff 1571 - Parameter Settings and Input

Pfaff 1571
142 pages
Print Icon
To Next Page IconTo Next Page
To Next Page IconTo Next Page
To Previous Page IconTo Previous Page
To Previous Page IconTo Previous Page
Loading...
13 - 51
Adjustment
No VAL
101 II
TE
No
No
500
TE
No VAL
501 3500
TE
No
VAL
13.08 Parameter settings
13.08.01 Parameter input example
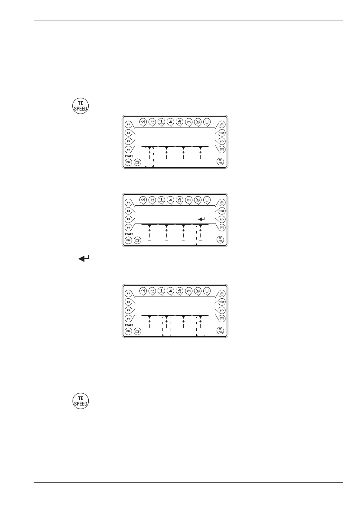
Switch on the machine
Select input mode by pressing TE/Speed key twice.
Select parameter group "500" by pressing the corresponding +/- key.
Confirm selection by pressing the corresponding +/- key.
Enter the code number, see Chapter 9.10 Entering/changing the code number.
Select the desired parameter, e.g. "501" by pressing the corresponding +/- key.
Set the desired parameter value by pressing the corresponding +/- key.
By pressing the TE/speed key, the value is taken over and the machine changes to the
sewing mode.
2 x

Table of Contents

Other manuals for Pfaff 1571

Related product manuals