EasyManua.ls Logo

Pfaff 1571 - Page 48

Pfaff 1571
142 pages
Print Icon
To Next Page IconTo Next Page
To Next Page IconTo Next Page
To Previous Page IconTo Previous Page
To Previous Page IconTo Previous Page
Loading...
9 - 9
Setting up
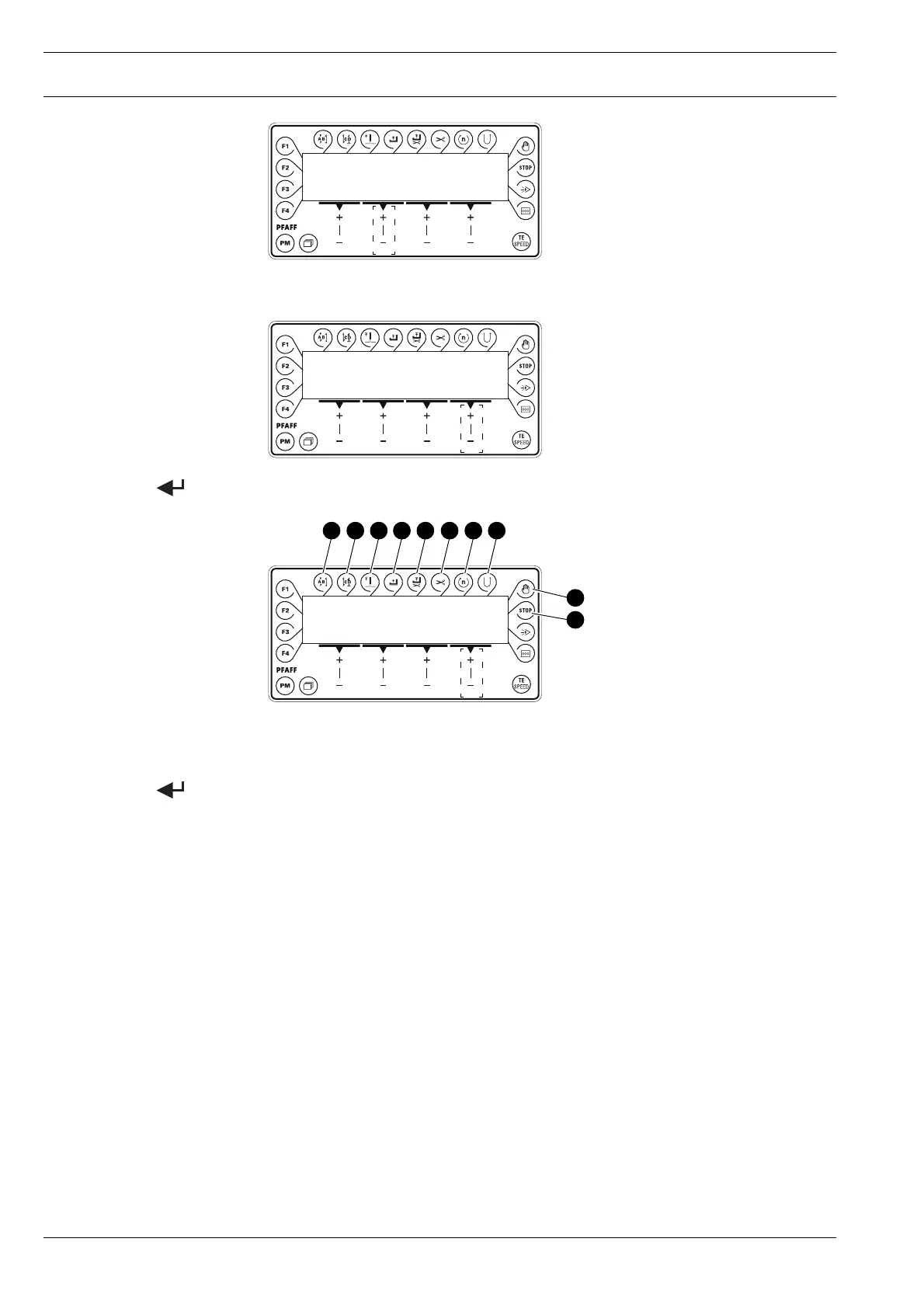
No VAL
801 0
TE
No
No
810 1500
TE
CODE: 1500
TE
1 2 3 4 5 6 7 8
1
9
0
Enter the desired code by pressing the corresponding keys, also see Chapter 7.09.02
Key functions.
Conclude the input by pressing the corresponding +/- key, through which the new code
number is stored and the sewing mode selected.
By pressing the corresponding +/- key select the parameter "810".
Confirm the selection by pressing the corresponding +/- key.

Table of Contents

Other manuals for Pfaff 1571

Related product manuals