EasyManua.ls Logo

Ricoh CH-C1 - Page 101

Ricoh CH-C1
682 pages
Print Icon
To Next Page IconTo Next Page
To Next Page IconTo Next Page
To Previous Page IconTo Previous Page
To Previous Page IconTo Previous Page
Loading...
Technical Bulletin PAGE: 8/11
Reissued:27-Mar-14
Model: CH-C1 Finisher SR4110
Date: 11-Oct-13
No.: RD135038a
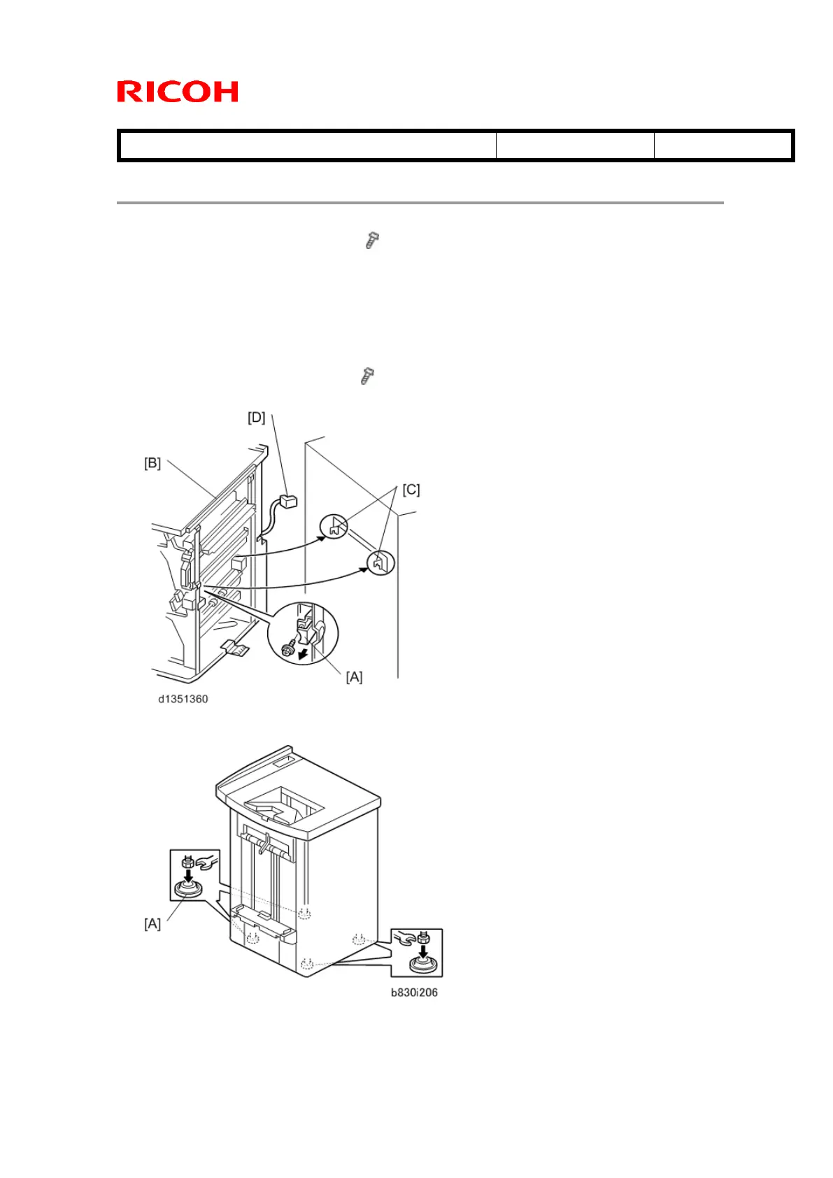
Connecting the Finisher D707
1. Open the front door of the finisher.
2. Pull out the locking lever [A]. ( x 1)
3. Align the finisher [B] with the joint brackets [C], then slowly push the finisher
onto the brackets.
4. Connect the finisher cable [D] to the copier
5. Push in the locking lever. [A]
6. Check that the top edges of the finisher are parallel with edges of the device
(or copier) to the right.
7. Fasten the locking lever [A]. ( x 1)
8. Close the front door.
9. Set the leveling shoes [A] (x4) under the feet.
10. Turn the nuts to adjust the height of the finisher until it is level.

Table of Contents