EasyManua.ls Logo

Ricoh J001 - Page 485

Ricoh J001
670 pages
To Next Page IconTo Next Page
To Next Page IconTo Next Page
To Previous Page IconTo Previous Page
To Previous Page IconTo Previous Page
Loading...
Electrical Components
SM 6-5 J007/J010/J011
J007/J010/
J011
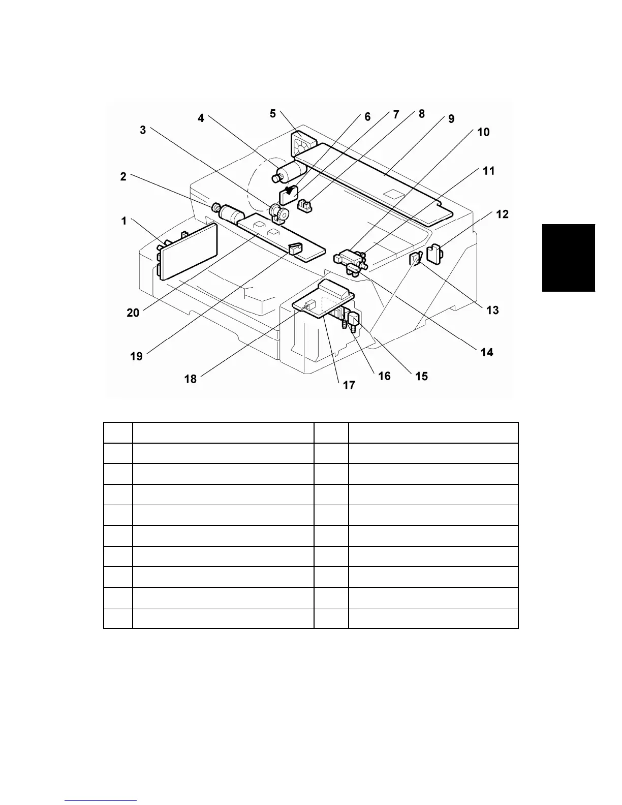
1 PSU 11 Ink Level Sensor
2 Vertical Motor 12 Duplexer Detection Board
3 Paper Feed Clutch 13 Duplex Set Switch
4 Horizontal Motor 14 Carriage Position Sensor
5 Cooling Fan 15 Ink Pump Motors (x2)
6 SENC 16 CCB
7 Vertical Encoder Sensor 17 OPU
8 Trailing Edge Sensor 18 Right Front Door Switch
9 Control Board 19 Top Cover Switch
10 Air Release Solenoid 20 HVPS
CÓPIA NÃO CONTROLADA
CÓPIA NÃO CONTROLADA

Table of Contents

Related product manuals