EasyManua.ls Logo

Ricoh M047 - Printer with Optional Units

Ricoh M047
286 pages
Print Icon
To Next Page IconTo Next Page
To Next Page IconTo Next Page
To Previous Page IconTo Previous Page
To Previous Page IconTo Previous Page
Loading...
Overview
SM 1-4 M047
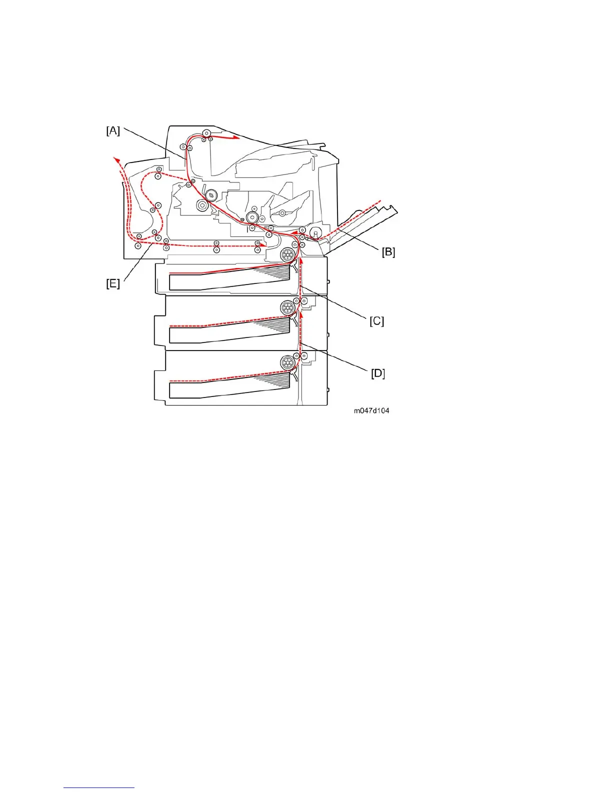
Printer with optional units
[A]: Paper path from the paper tray (main)
[B]: Paper path from the by-pass tray (main)
[C]: Paper path from the paper tray 2 (option)
[D]: Paper path from the paper tray 3 (option)
[E]: Paper path from the duplex unit (option)
CÓPIA NÃO CONTROLADA
CÓPIA NÃO CONTROLADA

Table of Contents

Related product manuals