EasyManua.ls Logo

Ricoh M047 - Toner End Sensor

Ricoh M047
286 pages
Print Icon
To Next Page IconTo Next Page
To Next Page IconTo Next Page
To Previous Page IconTo Previous Page
To Previous Page IconTo Previous Page
Loading...
Image Transfer
M047 4-19 SM
Replacement
and
Adjustment
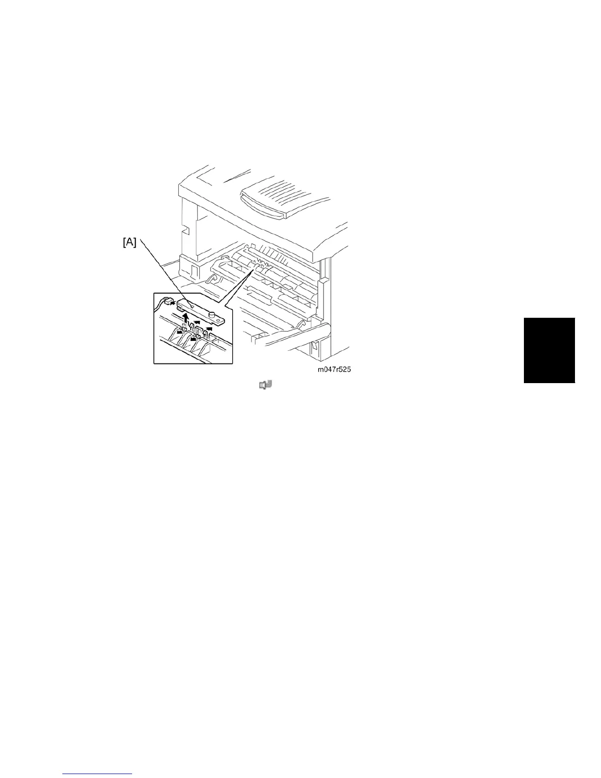
4.5.2 TONER END SENSOR
1. Open the front door.
2. Remove the AIO.
3. Toner end sensor [A] (4 hooks, x 1)
CÓPIA NÃO CONTROLADA
CÓPIA NÃO CONTROLADA

Table of Contents

Related product manuals