EasyManua.ls Logo

semaphore KINGFISHER PLUS+ - Page 183

semaphore KINGFISHER PLUS+
247 pages
Print Icon
To Next Page IconTo Next Page
To Next Page IconTo Next Page
To Previous Page IconTo Previous Page
To Previous Page IconTo Previous Page
Loading...
Kingfisher Plus+ Hardware Manual
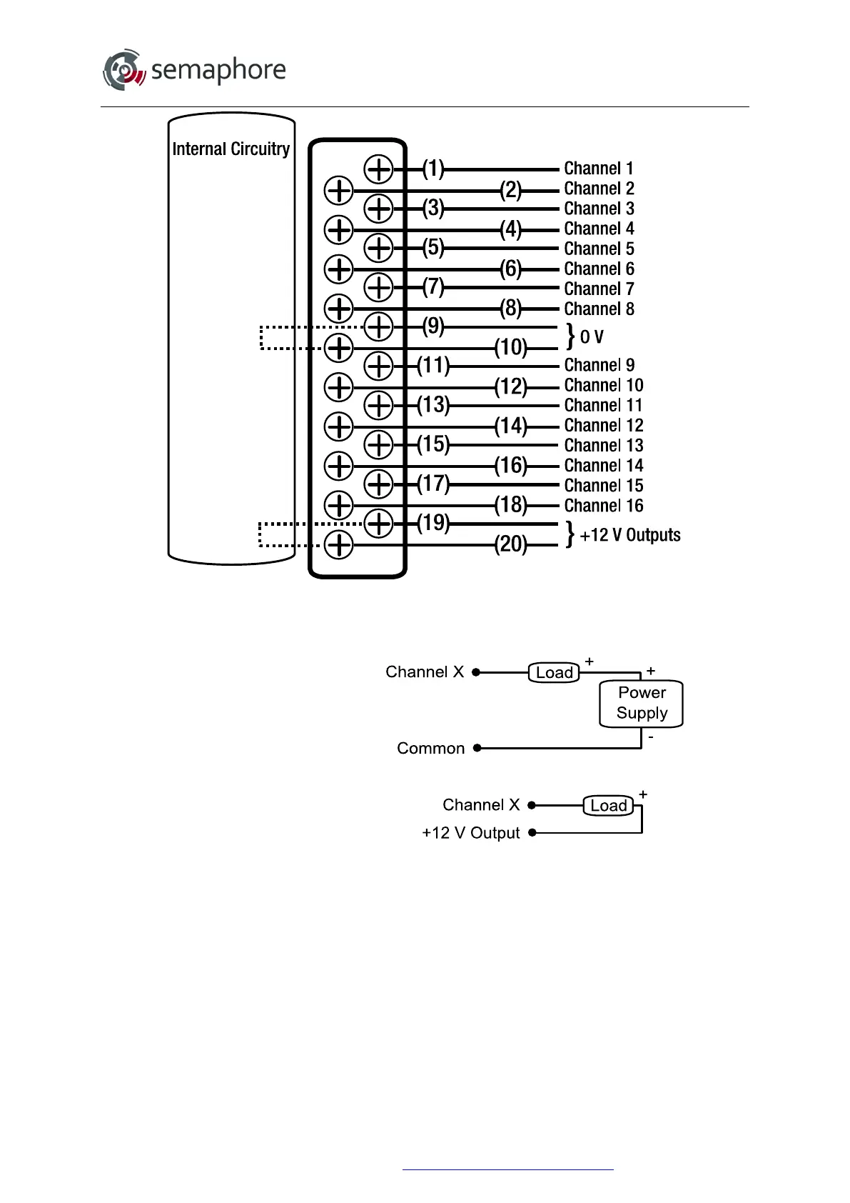
Note: The +12 V Output is sourced from the backplane power rail and is not isolated.
Users should exercise caution to avoid shorting or overloading this output.
External DC power supply:
Load powered by module:
Hardware Manual Version 7.16
http://www.servelec-semaphore.com/
Page 183

Table of Contents