EasyManua.ls Logo

semaphore KINGFISHER PLUS+ - Page 224

semaphore KINGFISHER PLUS+
247 pages
Print Icon
To Next Page IconTo Next Page
To Next Page IconTo Next Page
To Previous Page IconTo Previous Page
To Previous Page IconTo Previous Page
Loading...
Kingfisher Plus+ Hardware Manual
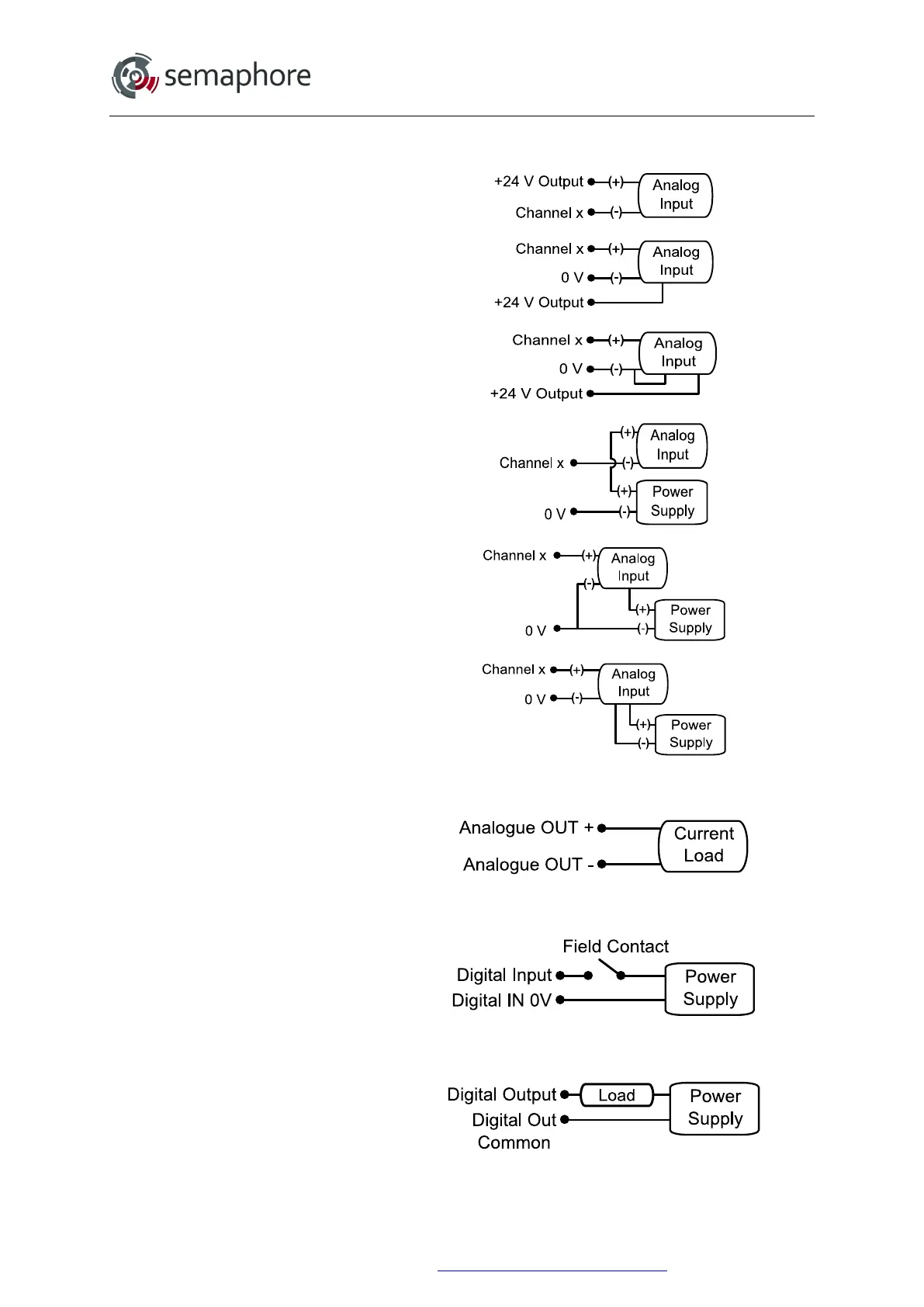
Analogue Input Examples
2 wire transmitter
(powered by module)
3 wire transmitter
(powered by module)
4 wire transmitter
(powered by module)
2 wire transmitter
(powered externally)
3 wire transmitter
(powered externally)
4 wire transmitter
(powered externally)
Analogue Output Example
Analogue load
Digital Input Example
Sensing the output form a field
contact
Digital Output Example
Driving external load from digital
output
Hardware Manual Version 7.16
http://www.servelec-semaphore.com/
Page 224

Table of Contents