EasyManua.ls Logo

Siemens SIREMOBIL Iso-C - Generator adjustment (filament circuit learning program)

Siemens SIREMOBIL Iso-C
128 pages
To Next Page IconTo Next Page
To Next Page IconTo Next Page
To Previous Page IconTo Previous Page
To Previous Page IconTo Previous Page
Loading...
SIREMOBIL Iso-C SPR2-230.061.01 Page 4 of 30 Siemens AG
System Manual Rev. 13 12.04 CS PS 24 Medical Solutions
5 - 4 Adjustments / Programs
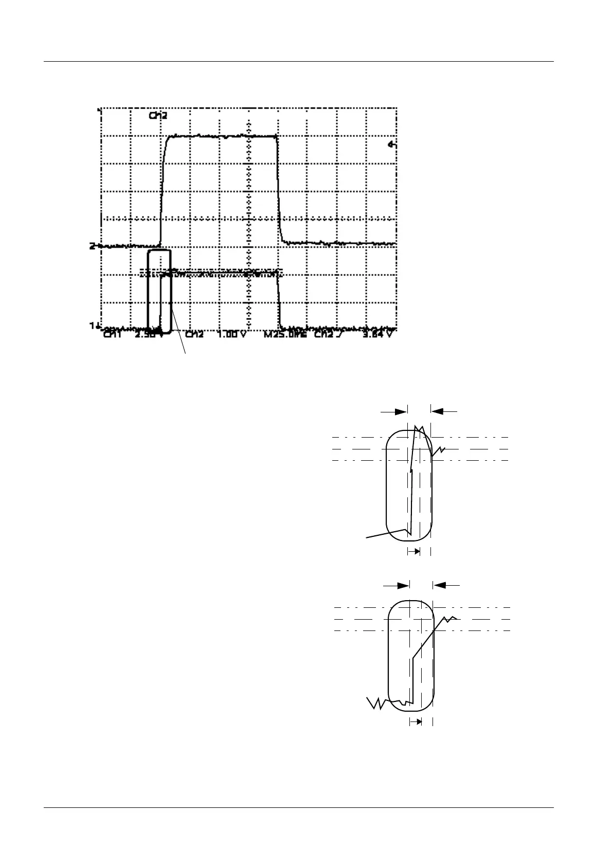
Error examples:
Fig. 1
kV-act (20 kV = 1.0 V)
mA-act (2.5 mA = 1.0 V)
relevant time period
Tube current exceeds the upper limit
- preset filament current too high
13 mA
6 ms
14.5 mA
11.5 mA
3 ms
Tube current exceeds the lower limit
- preset filament current too low
13 mA
6 ms
14.5 mA
11.5 mA
3 ms
Fig. 1a
Fig. 1b

Table of Contents

Other manuals for Siemens SIREMOBIL Iso-C

Related product manuals