EasyManua.ls Logo

Yamaha E40J - Drive Shaft and Lower Case

Yamaha E40J
200 pages
Print Icon
To Next Page IconTo Next Page
To Next Page IconTo Next Page
To Previous Page IconTo Previous Page
To Previous Page IconTo Previous Page
Loading...
LOWR
6-37
6F65G11
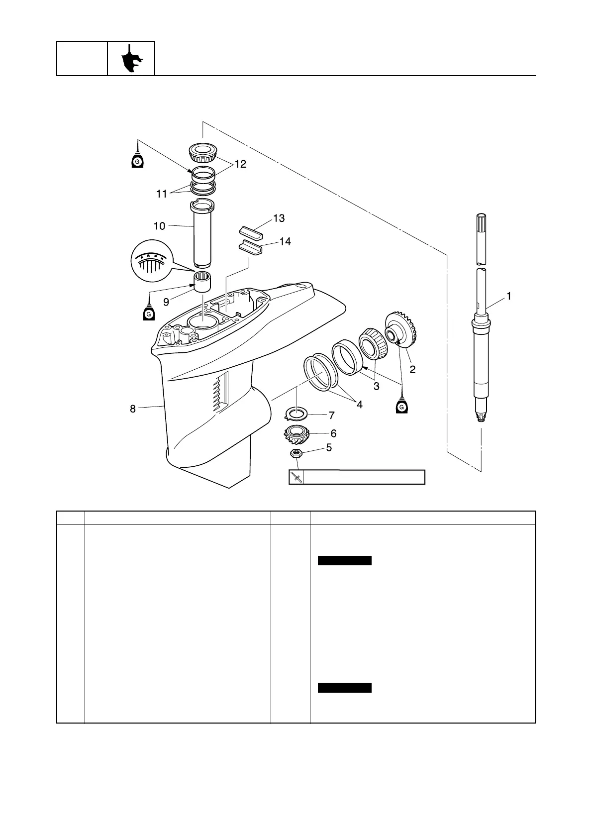
Lower unit
Drive shaft and lower case
6F66040E
74 N·m (7.4 kgf·m, 54.6 ft·lb)
No. Part name Qty Remarks
1 Drive shaft 1
2 Forward gear 1
3 Taper roller bearing assembly 1
4 Forward gear shim
5 Nut 1
6 Pinion gear 1
7 Washer 1
8 Lower case 1
9 Needle bearing 1
10 Sleeve 1
11 Pinion gear shim
12 Taper roller bearing assembly 1
13 Seal 1
14 Guide 1
Not reusable
Not reusable

Table of Contents

Related product manuals