EasyManua.ls Logo

Yamaha E40J - Bottom Cowling

Yamaha E40J
200 pages
Print Icon
To Next Page IconTo Next Page
To Next Page IconTo Next Page
To Previous Page IconTo Previous Page
To Previous Page IconTo Previous Page
Loading...
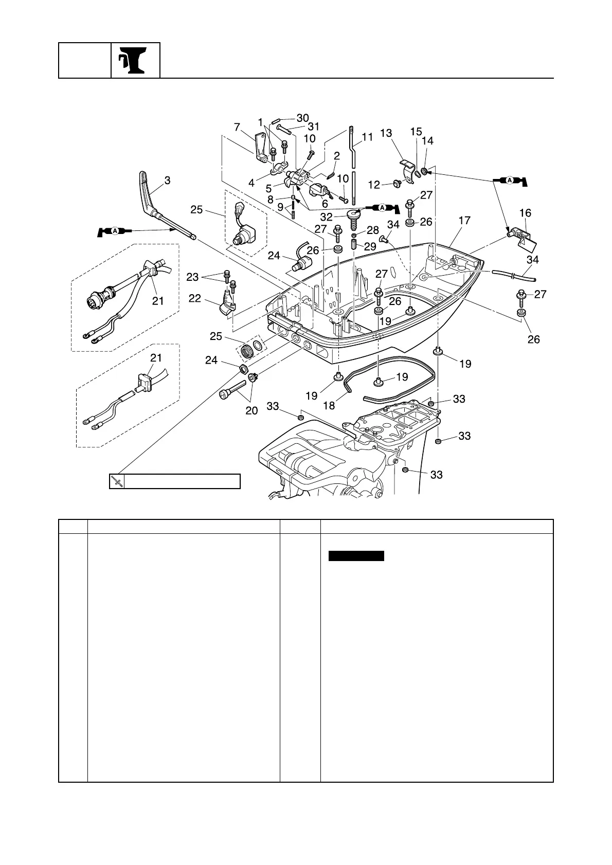
BRKT
7-5
6F65G11
Bracket unit
6F67020E
5 N·m (0.5 kgf·m, 3.6 ft·lb)
W
WH
No. Part name Qty Remarks
1 Bolt 2 M6 × 25 mm
2 Cotter pin 1
3 Shift lever 1
4 Bracket 1
5 Shift rod lever 1 1
6 Shift control lever 1
7 Shift rod lever 2 1
8 Bushing 1
9 Spring 2
10 Screw 2
11 Shift rod 1
12 Bolt 1 M6 × 10 mm
13 Lever 1
14 Bushing 1
15 Wave washer 1
16 Cowling lock lever 1
17 Bottom cowling 1
Not reusable
Bottom cowling

Table of Contents

Related product manuals