EasyManua.ls Logo

Yamaha E40J - Page 152

Yamaha E40J
200 pages
Print Icon
To Next Page IconTo Next Page
To Next Page IconTo Next Page
To Previous Page IconTo Previous Page
To Previous Page IconTo Previous Page
Loading...
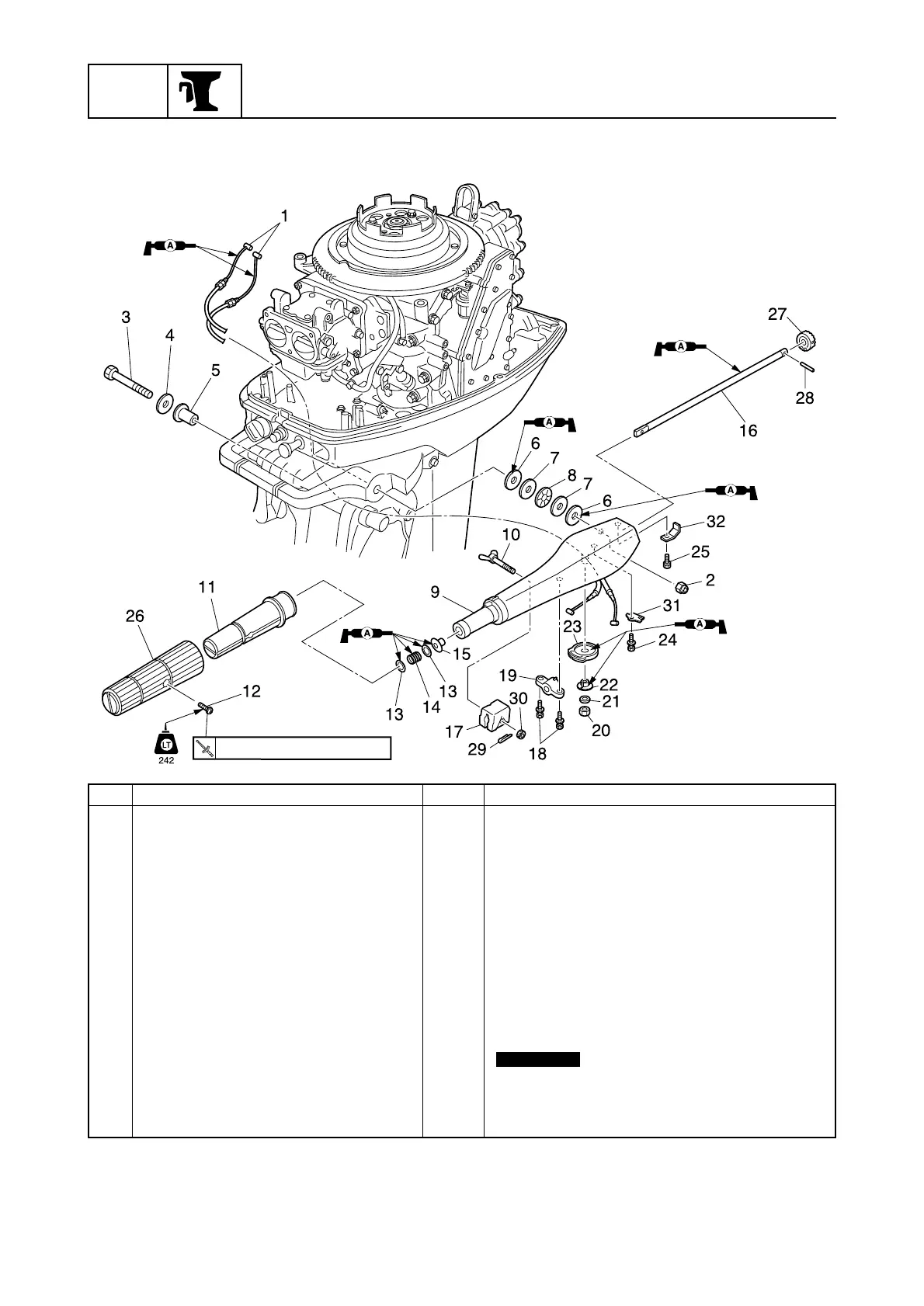
BRKT
7-3
6F65G11
Bracket unit
6F67010E
3 N·m (0.3 kgf·m, 2.2 ft·lb)
No. Part name Qty Remarks
18 Bolt 2 M6 × 20 mm
19 Stay 1
20 Nut 1
21 Washer 1
22 Bushing 1
23 Pinion 1
24 Bolt 1 M5 × 10 mm
25 Bolt 1 M5 × 10 mm
26 Rubber grip 1
27 Pinion 1
28 Pin 1
29 Cotter pin 1
30 Nut 1
31 Stay 1
32 Wire clip 1
Not reusable

Table of Contents

Related product manuals