EasyManua.ls Logo

Advantech-DLoG DLT-V8312 - Network Adapter (10;100;1000)

Default Icon
157 pages
Print Icon
To Next Page IconTo Next Page
To Next Page IconTo Next Page
To Previous Page IconTo Previous Page
To Previous Page IconTo Previous Page
Loading...
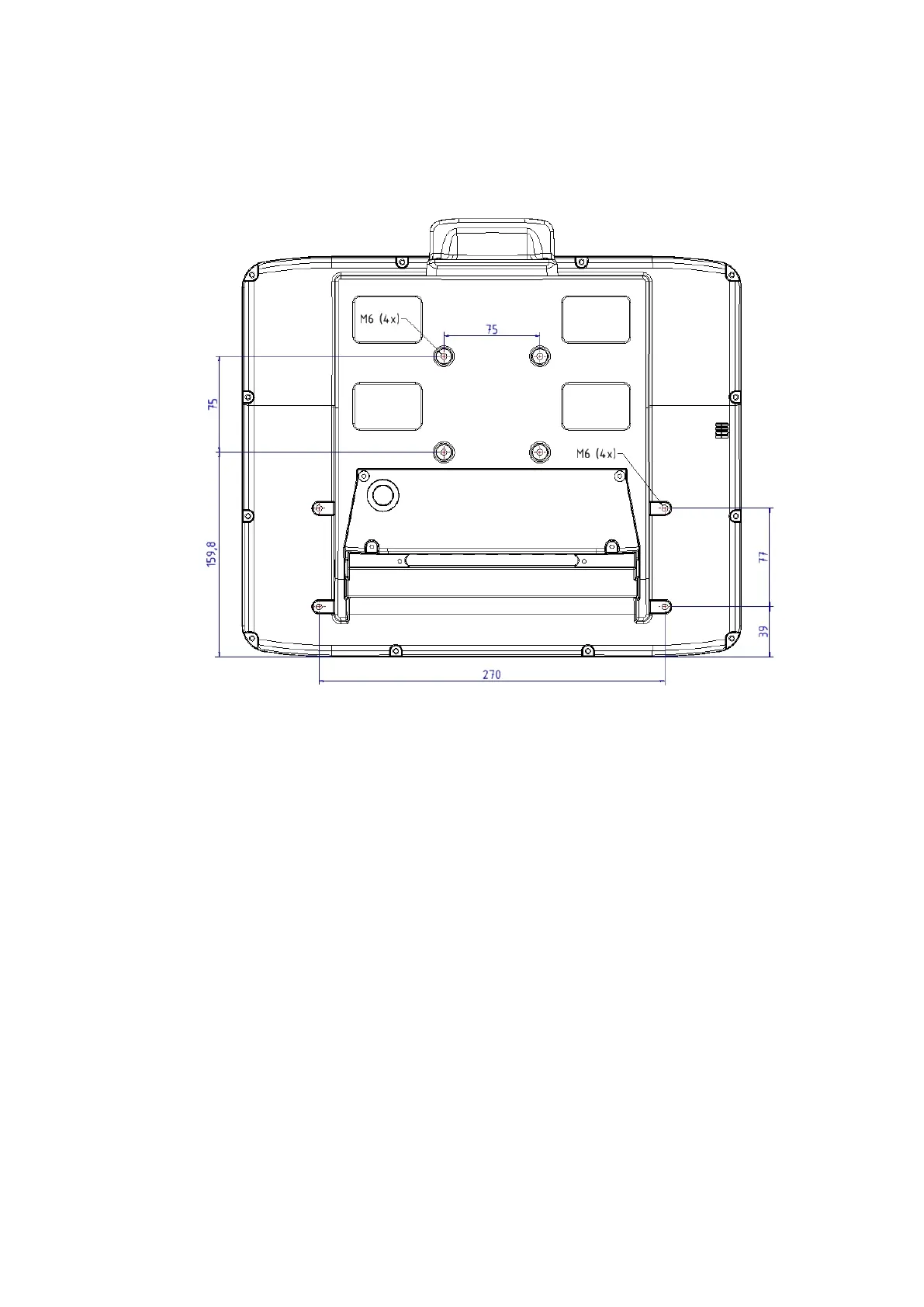
Mechanical mounting
DLT-V83 Operating Instructions V2.00 123 / 157
DLT-V8315 VESA drill holes
Dimensions without add-ons (in mm)
Depth of thread: M6 x 6mm
Fig. 13.3: Position of the VESA drill holes DLT-V8315

Table of Contents

Other manuals for Advantech-DLoG DLT-V8312

Related product manuals