EasyManua.ls Logo

CASE CONSTRUCTION Alpha Series - Page 262

CASE CONSTRUCTION Alpha Series
300 pages
Print Icon
To Next Page IconTo Next Page
To Next Page IconTo Next Page
To Previous Page IconTo Previous Page
To Previous Page IconTo Previous Page
Loading...
9-SPECIFICATIONS
631093604
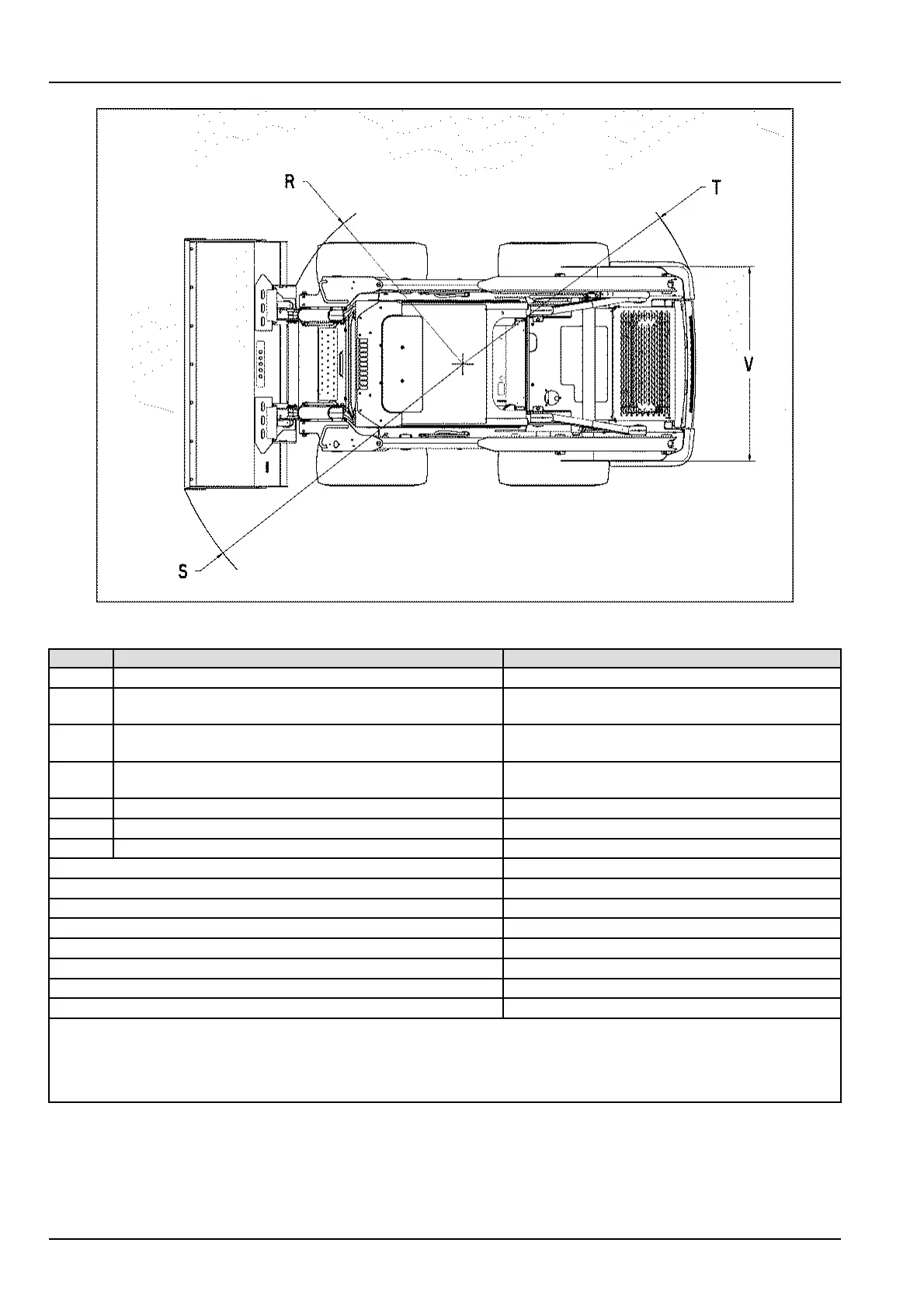
MEDIUMRADIALFRAMEWHEELUNITS(SR175)
ITEM
COMPONENTMEASUREMENT
R
Clearancecircleradiuswithouttool1325.0mm(52.2in)
SClearancecircleradiuswith1676.4mm(66.0in)DF
bucket
2015.0mm(79.3in)
SClearancecircleradiuswith1676.4mm(66.0in)LP
bucket
2110.0mm(83.1in)
SClearancecircleradiuswith1676.4mm(66.0in)LPE
bucket
2228.0mm(87.7in)
T
Clearancecircleradiusrear1599.0mm(63.0in)
V
Overthetirewidth1371.0mm(54.0in)
W
Overallwidth1642.0mm(64.6in)
Operatingweight2842kg(6265.5lb)
SAERatedOperatingCapacity(ROC)790kg(1742lb)
Tippingload
1588kg(3501lb)
Counterweight(optional)63.8kg(140.7lb)
Cabsideglass(optional)21.3kg(47.0lb)
Cabglassdoor(optional)34.0kg(75.0lb)
CabLexandoor(optional)34.0kg(75.0lb)
Suspensionseat(optional)10.0kg(22.0lb)
NOTE:Measurementsarebasedonmachineswith10x16.5tiresanda1676.4mm(66.0in)Dirt&Foundry(DF)
bucket.
NOTE:ClearanceCircleRadius(R,S,T)valueswerecalculatedusinga50/50weightdistribution(centerpointof
counterrotationcenteredbetweentheaxles)andwiththebucketrestingatonground.
9-6

Table of Contents

Related product manuals