EasyManua.ls Logo

Electrolux E23CS75DSS0 - Operating Cycle Illusttations - Manual

Electrolux E23CS75DSS0
135 pages
Print Icon
To Next Page IconTo Next Page
To Next Page IconTo Next Page
To Previous Page IconTo Previous Page
To Previous Page IconTo Previous Page
Loading...
98
14
•IceMakerconnectedtoelectricity.
•Moldtemperatureabove9°F.
•Thermostatopen.
•Motornotrotating.
•Moldheateroff.
•ControlArmdown.
•FeelerArmSwitchclosedCtoNO.
•HoldSwitchclosedCtoNC.
•WaterFillSwitchopen.
F 14
599485595 August 2007
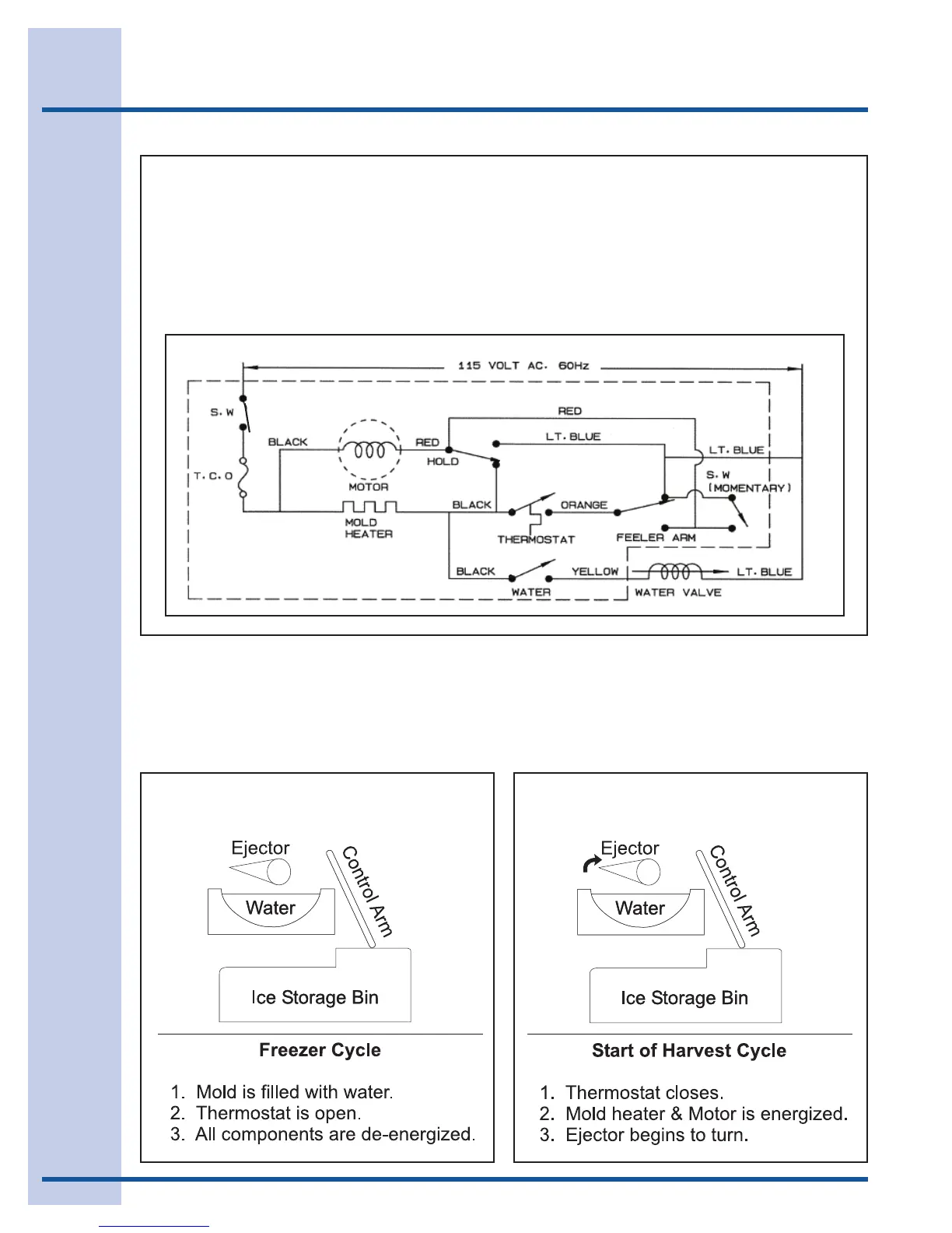
Operating Cycle Illustrations - Mechanical
The following Figures illustrate the mechanical operation of an Ice Maker.
Step 2
Step 1
Ice Maker connected to electricity.
Mold temperature above 9 F.
Thermostat open.
Motor not rotating.
Mold Heater off.
Control Arm down.
Feeler Arm Switch closed C to NO.
Hold Switch closed C to NC.
Water Fill Switch open.
14
Step 1
Section F - Ice Maker
Operating Cycle Illustrations - Mechanical
Thefollowingguresillustratethemechanicaloperationofanicemaker.
Step 2

Table of Contents

Related product manuals