EasyManua.ls Logo

Evoqua DEPOLOX - Page 46

Evoqua DEPOLOX
178 pages
Print Icon
To Next Page IconTo Next Page
To Next Page IconTo Next Page
To Previous Page IconTo Previous Page
To Previous Page IconTo Previous Page
Loading...
46 WT.050.570.000.DE.IM.0714
Operation DEPOLOX
®
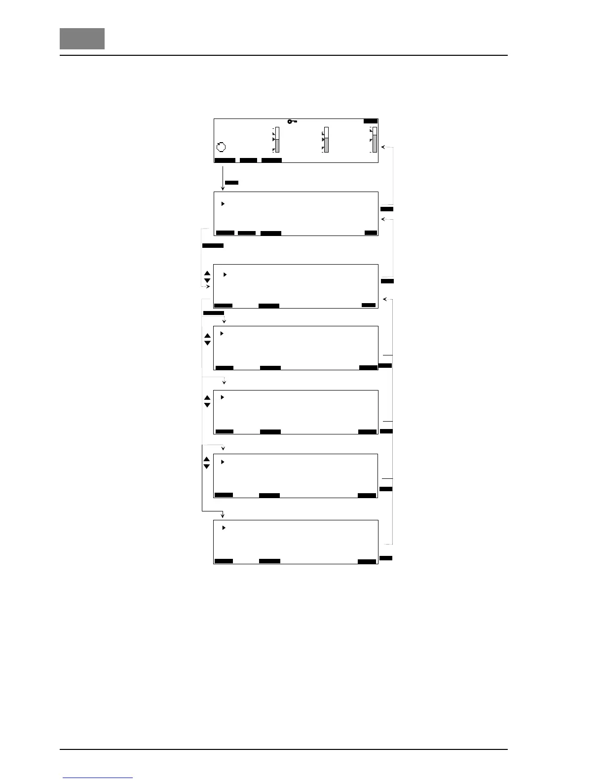
Pool
1.3
pH settings
(menu 1.2)
Fig. 12 pH settings
A c t u a t o r
P a r a m e t e r s
L i m i t v a l u e s
M e a s u r i n g R a n g e
M e n u p H
B A C K
E S C
B A C K
E S C
B A C K
E S C
M E N U
p H L i m i t V a l u e s
M i n 6 , 5 p H
M a x 7 , 5 p H
H y s t e r e s i s 0 , 2 0 p H
F l o c c . ( m i n ) 6 , 0 0 p H
F l o c c . ( m a x ) 8 , 0 0 p H
p H M e a s u r i n g R a n g e
R a n g e - S t a r t 4 . 0 0 p H
R a n g e - E n d 9 . 0 0 p H
p H A c t u a t o r
C o n t r o l o u t p u t s E l e c t r . P o s . w o . Y m
c o n t r . d i r e c t i o n a c i d
T p 6 0 s
X s h 1 . 0 %
T y 9 0 s
P u l s e s m a x / m i n
1 0 0
m g / l
6 , 8 5
7 0 5
0 , 0 0
1 . 0 0
0 . 4 3
4 . 0 0
9 . 0 0
7 . 0 0
4 0 0
p H
m V
9 0 0
0 , 6 5
1 2 : 3 5
M O D E
C A L
M E N U
P O O L 1
1 0 0 % 2 8 ° C
M e n u s e l e c t
C l 2
p H
R e d o x
C l - N
1
1 . 2
1 . 2 . 1
1 . 2 . 3
1 . 2 . 4
p H P a r a m e t e r s
s e t p o i n t 7 . 0 0 p H
X p 1 0 %
T n 2 0 m i n
Y m i n 0 %
Y m a x 1 0 0 %
1 . 2 . 2
B A C K
E S C
B A C K
E N T E R
B A C K
E N T E R
B A C K
E N T E R
B A C K
E N T E R
B A C K
E N T E R
B A C K
E N T E R
D I
I
D I
I I
D I
I I I
L O C K
C o n d u c t i v i t y
S y s t e m
I n p u t s / O u t p u t s
D i a g n o s i s
E N T E R
E N T E R
B A C K
B A C K
Basic display
Menu select
Menu pH
pH actuator
pH parameters
pH limit values
pH measuring range

Table of Contents

Related product manuals