EasyManua.ls Logo

Evoqua DEPOLOX - Page 48

Evoqua DEPOLOX
178 pages
Print Icon
To Next Page IconTo Next Page
To Next Page IconTo Next Page
To Previous Page IconTo Previous Page
To Previous Page IconTo Previous Page
Loading...
48 WT.050.570.000.DE.IM.0714
Operation DEPOLOX
®
Pool
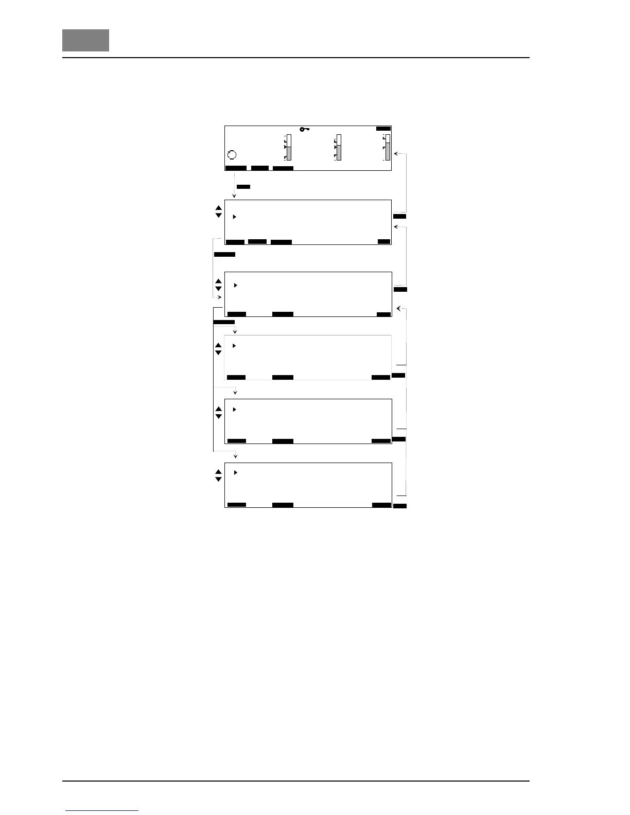
1.3
Redox settings
(menu 1.3)
Fig. 13 Redox settings
C E D O X p a r a m e t e r s
L i m i t v a l u e s
M e a s . R a n g e
M e n u R e d o x
R e d o x L i m i t V a l u e s
M i n 6 0 0 m V
M a x 7 5 0 m V
H y s t e r e s i s 2 0 m V
R e d o x M e a s u r i n g R a n g e
R a n g e - S t a r t 4 0 0 m V
R a n g e - E n d 9 0 0 m V
B A C K
E S C
B A C K
E S C
M E N U
m g / l
6 , 8 5
7 0 5
0 , 0 0
1 . 0 0
0 . 4 3
4 . 0 0
9 . 0 0
7 . 0 0
4 0 0
p H
m V
9 0 0
0 , 6 5
1 2 : 3 5
M O D E
C A L
M E N U
P O O L 1
1 0 0 % 2 8 ° C
M e n u S e l e c t
C l 2
p H
R e d o x
C l - N
1
1 . 3
1 . 3 . 2
1 . 3 . 3
B A C K
E N T E R
B A C K
E N T E R
B A C K
E N T E R
B A C K
E N T E R
D I
I
D I
I I
D I
I I I
L O C K
C o n d u c t i v i t y
S y s t e m
I n p u t s / O u t p u t s
D i a g n o s i s
E N T E R
E N T E R
B A C K
B A C K
C E D O X P a r a m e t e r s
S e t p o i n t 8 2 0 m V
S e t p o i n t E C O 7 2 0 m V
X s h 0 0 5 m V
m V d e l a y t i m e 1 0 m i n 0 0 s
B A C K
E S C
1 . 3 . 1
B A C K
E N T E R
Basic display
Menu select
Menu Redox
CEDOX Parameters
Redox limit values
Redox measuring range

Table of Contents

Related product manuals