EasyManua.ls Logo

Fuji Electric Frenic Mega Series - Page 341

Fuji Electric Frenic Mega Series
774 pages
To Next Page IconTo Next Page
To Next Page IconTo Next Page
To Previous Page IconTo Previous Page
To Previous Page IconTo Previous Page
Loading...
5.4 Details of Function Codes
5-160
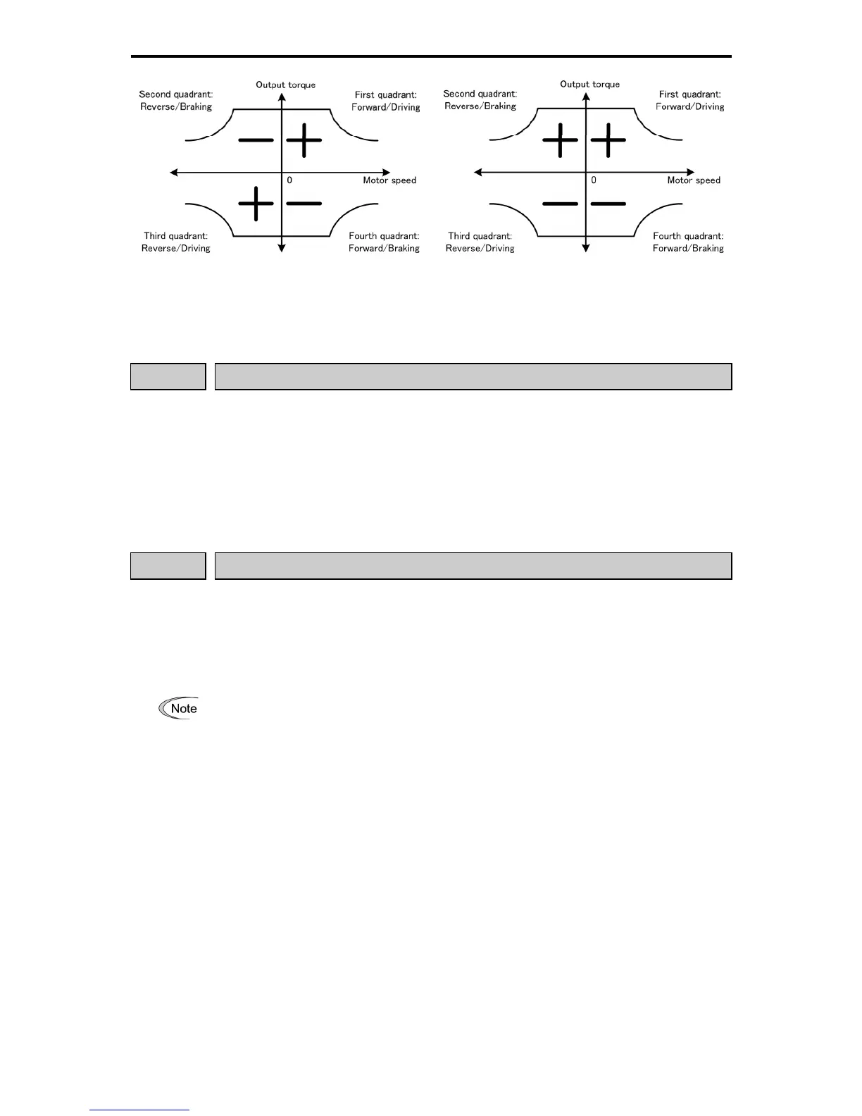
E49 = 0: "+" when forward driving and reverse braking, and "-" when forward braking and reverse driving, E49 =
1: "+" when driving, and "-" when braking.
Fig. 5.4-72
E50
Speed Indication Coefficient
E50 is used as a coefficient when the loaded rotation speed and line speed of LED monitor (see the function
code E43) are displayed.
Load rotation speed [r/min] = E50 speed indication coefficient x frequency (Hz)
Line speed [m/min] = E50 speed indication coefficient x frequency (Hz)
- Data setting rage: 0.01 to 200.00
E51
Coefficient for Integrated Power Data Indication
E51 is used as the coefficient of data to be displayed on the maintenance information display
5-10
(integrated power factor) on the keypad.
Displays integrated power data = E51 integrated power data display coefficient x integrated power
amount (kWh)
- Data setting range: 0.000 (cancel and reset) 0.001 to 9999
Setting E51 = 0.000 clears the integrated power amount and integrated power data to "0." Afte
r
clearing, be sure to restore to the previous value; otherwise, integrating operation cannot be
executed with E51 = 0.000.

Table of Contents

Related product manuals