EasyManua.ls Logo

GE Giraffe - Figure 6-39 Wiring Diagram: Graphics Display

GE Giraffe
206 pages
Print Icon
To Next Page IconTo Next Page
To Next Page IconTo Next Page
To Previous Page IconTo Previous Page
To Previous Page IconTo Previous Page
Loading...
TOUCH PANEL
1
2
3
4
5
6
7
8
9
10
ROTARY ENCODER
1
1
2
2
3
3
4
4
5
5
6
6
EL DISPLAY
1
2
3
4
5
6
7
8
9
10
11
12
13
14
15
16
17
18
19
20
LED DISPLAY
TP3.2 LED Voltage
TP3.3 Diplay Brightness B
TP3.1 Display Brightness A
J60.2
J60.5
J60.6
J60.1
J60.4
J60.3
GRAPHICS DRIVER
J27.1
J27.4
J27.3
J27.2
J27.11
J27.6
J27.7
J27.8
J27.5
J27.10
J27.15
J27.17
J27.13
J27.18
J27.16
J27.14
J27.19
J27.12
J27.20
J27.9
J20.1
J20.3
J20.2
J20.7
J20.8
J20.10
J20.9
J22.1
J22.2
J25.1
J25.4
J25.3
J25.2
J26.1
J26.4
J26.3
J26.2
J26.6
J26.5
J23.3
J23.1
J23.2
J23.4
J20.5
J20.4
J20.6
J24.1
J24.2
J24.3
J24.4
J24.5
J24.6
J21.1
J21.2
J21.3
J21.4
J21.5
J21.6
J21.7
J21.8
J21.9
J21.10
J20.11
J20.12
J20.13
J20.14
GND
To J8 on
yellow
+12V
GND
INTERVENTION
SERVO CONTROL
A
brown
+5VSTBY
OUTPUT B
VUD2
>37º
GND
red
GND
ALARM SILENCE
GND
6600-1007-600
MODULE_RESET
orange
GND
OUTPUT A
GND
VUD1
GND
black
SWITCH
+5V
VUD0
/INT
white
VUD3
To J42 on
GND
GND
LEDCLK
XSCL
Relay Board
ALM_LED
LED1DAT
VLP
GND
6600-0725-700
SPKR-
+5V
Alpha Numeric Pad
VYD
6600-0703-700
GND
LED2DAT
SHIELD
SPKR+
+5V
GND
Control Board
6600-0739-700
+12V
GND
green
GND
+12V
MANUAL MODE RAD. HTR.
GND
MANUAL MODE INC.
red
B
GND
6600-0706-700
GND
blue
GND
GND
DOWN
6600-1026-600
/SYSFAIL
orange
+5V
LED_RESET
GND
UP
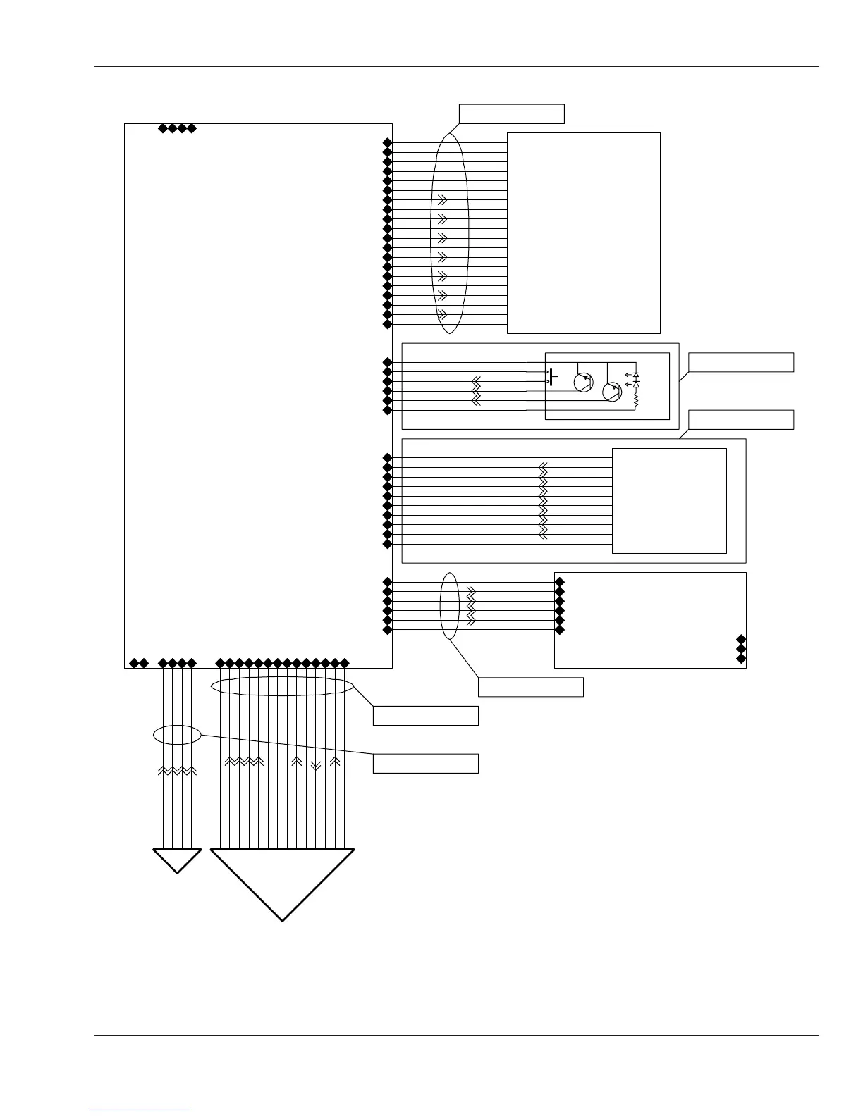
Figure 6-39 Wiring Diagram: Graphics Display
© 2001 by Datex-Ohmeda, Inc.. All rights reserved. 6600-0356-000 103 159
Chapter 6: Illustrated Parts

Table of Contents

Other manuals for GE Giraffe

Related product manuals