EasyManua.ls Logo

GRAPHTEC FC4200-50 - FC4200-50 Model External Dimensions

GRAPHTEC FC4200-50
106 pages
Print Icon
To Next Page IconTo Next Page
To Next Page IconTo Next Page
To Previous Page IconTo Previous Page
To Previous Page IconTo Previous Page
Loading...
FC4200-UM-251-03-9370 100
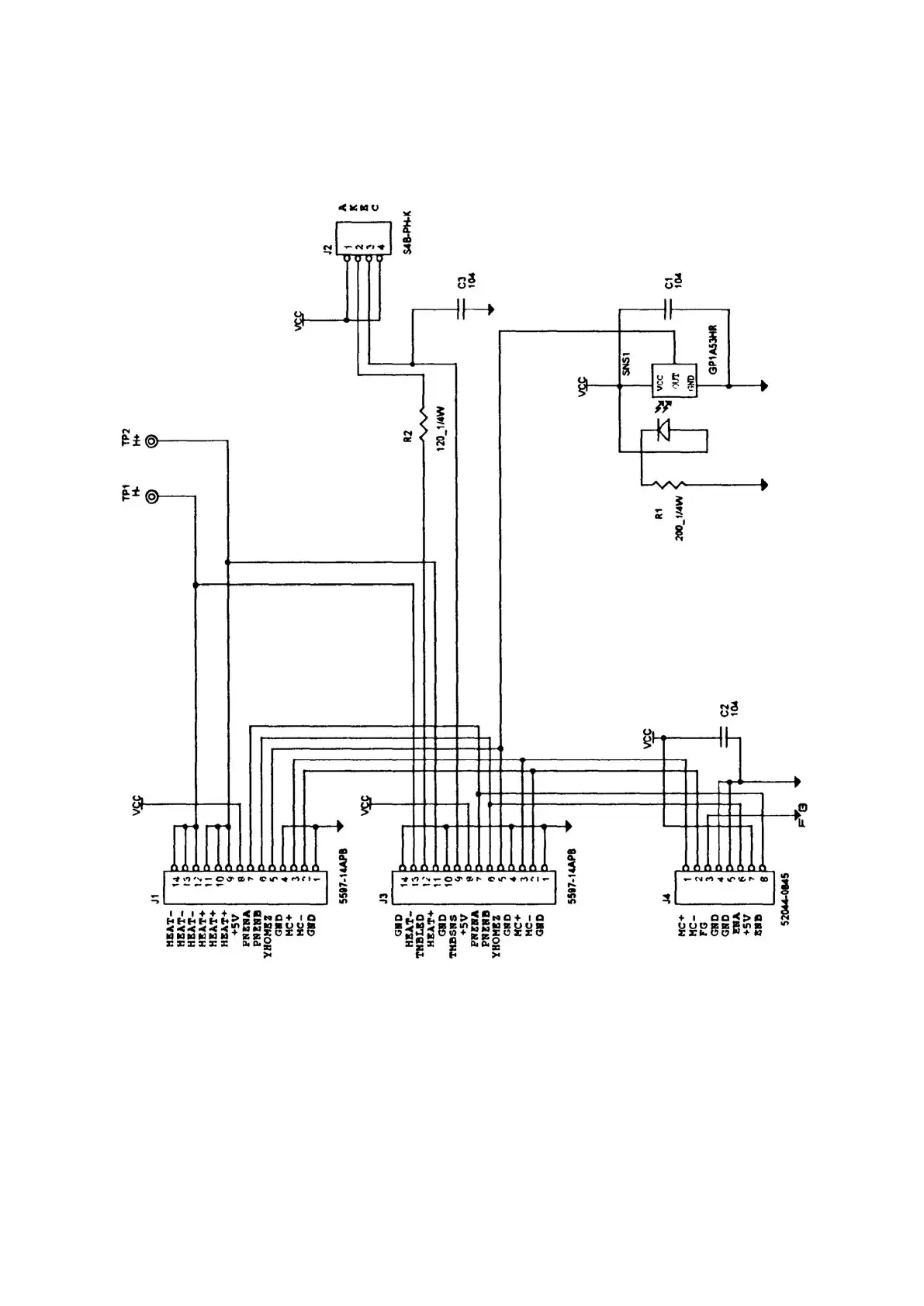
CIRCIT DIAGRAMS
12.5 Pen Board
Pen Board for FC4200-50 and FC4200-60

Table of Contents

Other manuals for GRAPHTEC FC4200-50

Related product manuals