EasyManua.ls Logo

GRAPHTEC FC4200-50 - Unpacking Your Plotter and Checking Accessories; Verifying Standard Plotter Accessories

GRAPHTEC FC4200-50
106 pages
Print Icon
To Next Page IconTo Next Page
To Next Page IconTo Next Page
To Previous Page IconTo Previous Page
To Previous Page IconTo Previous Page
Loading...
FC4200-UM-251-03-9370 10
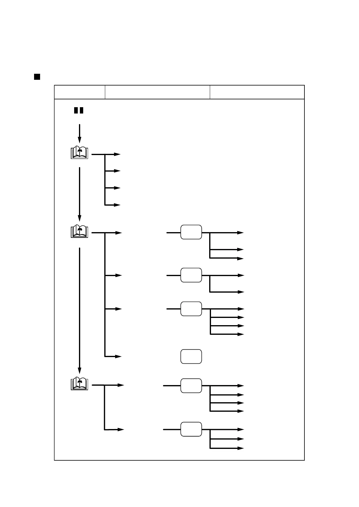
THE TREE STRUCTURE OF MENUS
3. The Tree Structure of Menus
In Menu mode for FC4200-50 and FC4200-60
Page Main Menu Submenu
MARK
INTERFACE
STEP SIZE 
(GP-GL mode only)
ORIGIN POINT 
(HP-GL mode only)
ROTATE
OPTION1
L UNIT
FILM
FUNCTION
PEN WIDTH
UP SPEED
OPTION2
CLEAR
PEN U/D
SELECT PEN
RS-232C
COMMAND
AREA
MIRROR
SORT
THICK
OFST FCE
OFST ANG
STP PASS
DIST ADJ
TEST
NEXT PAGE
NEXT PAGE
NEXT PAGE
PAUSE
F1
F2
F2
F4
F3
F4

Table of Contents

Other manuals for GRAPHTEC FC4200-50

Related product manuals