EasyManua.ls Logo

Gtec SATURN - Ansicht des Bedienfelds

Default Icon
Print Icon
To Next Page IconTo Next Page
To Next Page IconTo Next Page
To Previous Page IconTo Previous Page
To Previous Page IconTo Previous Page
Loading...
- 123 -
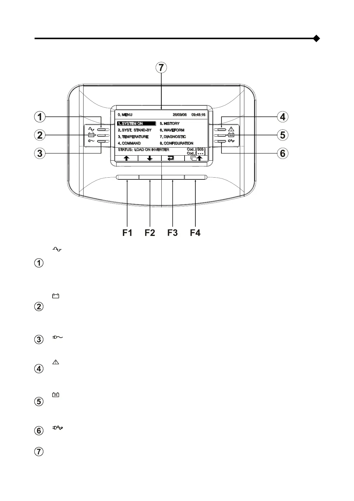
ANSICHT DES BEDIENFELDS
LED Netzbetrieb
Leuchtet: Netzbetrieb mit gut funktionierender Bypassleitung und synchrongeschaltetem Inverter
Blinkt: Netzbetrieb mit fehlerhaft funktionierender oder deaktivierter Bypassleitung bzw. nicht
synchrongeschaltetem Inverter
Blinkt im Stand-by: Programmierte Einschaltfunktion aktiv, Netzversorgung vorhanden
LED Batteriebetrieb
Leuchtet: Batteriebetrieb
Blinkt: Batteriebetrieb mit Voralarm wegen mangelhaftem Ladestatus der Batterie, Shutdown steht kurz bevor
Blinkt im Stand-by: Programmierte Einschaltfunktion aktiv, Netzversorgung nicht vorhanden
LED Last auf Bypass
Leuchtet: Lastversorgung über Bypass
LED Standby / Alarm
Leuchtet: Vorhandener Alarm
Blinkt: Standby
LED Batteriewechsel
Leuchtet: Batteriewechsel erforderlich
Blinkt: Überlastalarm Batterie
LED ECO-Modus
Leuchtet: Konfiguration des ECO-Modus aktiv
Graphisches Display

Table of Contents

Other manuals for Gtec SATURN

Related product manuals