EasyManua.ls Logo

Gtec SATURN - Vue Panneau de Commande

Default Icon
Print Icon
To Next Page IconTo Next Page
To Next Page IconTo Next Page
To Previous Page IconTo Previous Page
To Previous Page IconTo Previous Page
Loading...
- 182 -
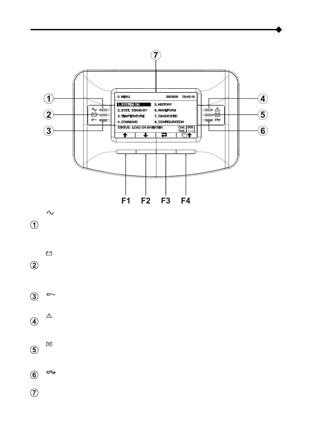
VUE PANNEAU DE COMMANDE
LED Fonctionnement avec réseau
Allumée fixe: fonctionnement avec réseau avec bonne ligne bypass et CPS synchronisé
Clignotante: fonctionnement avec réseau avec ligne bypass pas bonne ou désactivée et/ou CPS non
synchronisé
Clignotante en Stand-by: fonction de redémarrage programmé activée et présence de réseau
LED Fonctionnement avec batterie
Allumée fixe: fonctionnement avec batterie
Clignotante: fonctionnement avec batterie avec pré-alarme de fin de charge ou extinction (shutdown)
imminente
Clignotante en Stand-by: fonction de redémarrage programmé activée et absence de réseau
LED charge sur bypass
Allumée fixe: charge alimentée avec ligne bypass
LED stand-by / alarme
Allumée fixe: présence alarme
Clignotante: état de Stand-by
LED batteries à remplacer
Allumée fixe: batteries à remplacer
Clignotante: alarme batteries surchargées
LED modalité ECO
Allumée fixe: configuration modalité ECO activée
Ecran graphique
F1, F2, F3, F4 = TOUCHES DE FONCTION. La fonction de chaque touche est indiquée dans la partie inférieure de
l’écran et varie en fonction du menu.

Table of Contents

Other manuals for Gtec SATURN

Related product manuals