EasyManua.ls Logo

Gtec SATURN - View of the Control Panel

Default Icon
Print Icon
To Next Page IconTo Next Page
To Next Page IconTo Next Page
To Previous Page IconTo Previous Page
To Previous Page IconTo Previous Page
Loading...
- 66 -
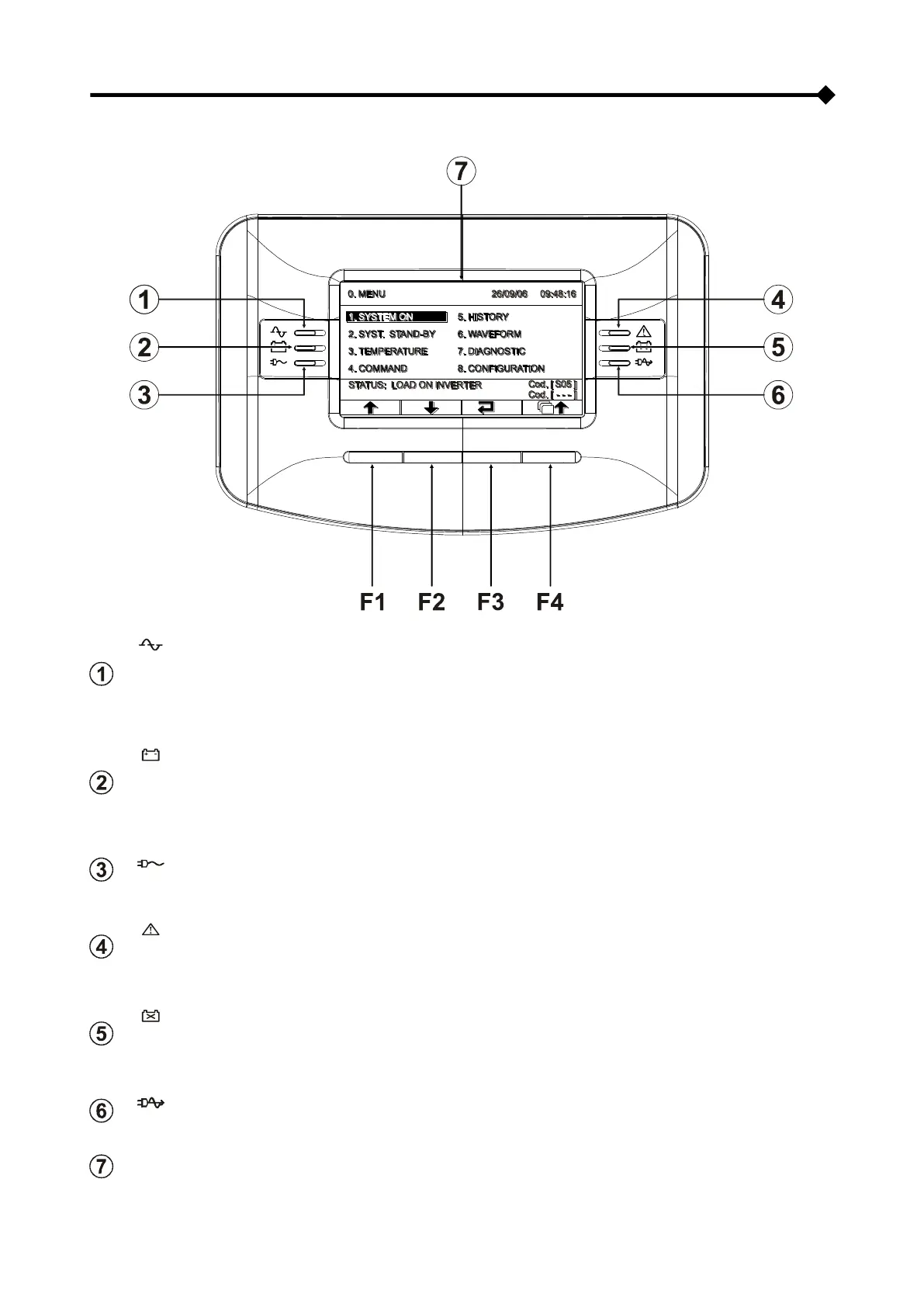
VIEW OF THE CONTROL PANEL
Mains operation LED
On steady: mains operation with good bypass line and synchronised inverter
Flashing: mains operation with bad or disabled bypass line and/or non-synchronised inverter
Flashing in standby: programmed restart function active and mains present
Battery operation LED
On steady: battery operation
Flashing: battery operation with early low battery or imminent shutdown warning
Flashing in standby: programmed restart function active and mains absent
Load on bypass LED
On steady: load powered from bypass line
Standby/alarm LED
On steady: replace batteries
Flashing: batteries overloaded alarm
Replace batteries LED
On steady: replace batteries
Flashing: batteries overloaded alarm
ECO mode LED
On steady: ECO mode configuration active
Graphic display
F1, F2, F3, F4 = FUNCTION KEYS. Each key's task can be found on the lower part of the display and varies
according to menu.

Table of Contents

Other manuals for Gtec SATURN

Related product manuals