EasyManua.ls Logo

Gtec SATURN - Pack Batteries ( Option ); Entree B y - Pass Separee

Default Icon
Print Icon
To Next Page IconTo Next Page
To Next Page IconTo Next Page
To Previous Page IconTo Previous Page
To Previous Page IconTo Previous Page
Loading...
- 183 -
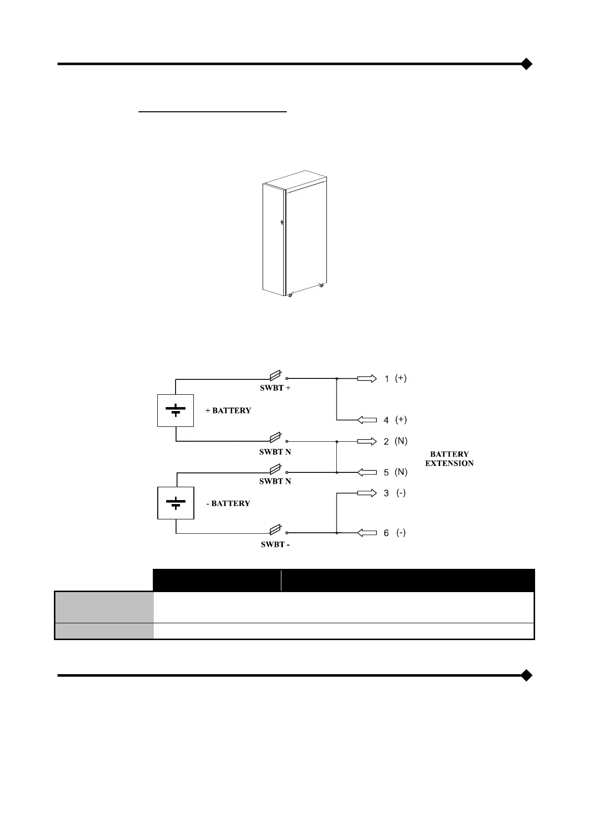
PACK BATTERIES (OPTION)
LE BOX BATTERIE EST UN ACCESSOIRE OPTIONNEL.
Le Pack Batteries contient les batteries qui permettent d’augmenter le temps de fonctionnement des CPSs dans des
conditions de coupures d’alimentation prolongées. Le nombre de batteries contenues peut varier selon le type du CPS
auquel le Pack Batteries est destiné. Il est donc très important de vérifier que la tension de batterie du Pack Batteries est
bien admise par le CPS.
Il est possible de connecter d’autres Pack Batteries de manière à constituer une chaîne apte à obtenir n’importe quel
temps d’autonomie en cas d’absence de réseau.
Cette série de Pack Batteries est caractérisée à l’intérieur par deux bras distincts de batteries, l’un à tension positive et
l’autre à tension négative par rapport à la borne de neutre (N).
Le schéma des connexions pour le Pack Batteries est reporté ci-dessous.
BBX 1320 480V
BB NP T4 3F
BBX 1320 480V
BB NP T2 3F
BBX 1320 480V
BB NP T5 3F
Tension nominale
240 + 240 Vdc
240 + 240 Vdc
240 + 240 Vdc
Poids
300 Kg
390 Kg
400 Kg
L x P x H
400 x 815 x 1320 mm
ENTREE BY-PASS SEPAREE
NOS CPS SONT ÉQUIPÉS DE “DUAL INPUT” DE SÉRIE SUR TOUS LES MODÈLES, CELA SIGNIFIE QUE LA
LIGNE DE BY-PASS EST SEPAREE DE LA LIGNE D'ENTREE.
Cette caractéristique permet un raccordement distinct entre la ligne d'entrée et la ligne de by-pass.
La sortie du CPS sera synchronisée à la ligne de by-pass de façon à ce qu'il n'y ait pas de commutations incorrectes
entre les tensions en contre-phase en cas d'intervention du by-pass automatique ou de fermeture du by-pass manuel
(SWMB).

Table of Contents

Other manuals for Gtec SATURN

Related product manuals