EasyManua.ls Logo

Gtec SATURN - Mehrfach - Erweiterungen; Einstellung der Batterie -Nennleistung - Software -Konfiguration; Externer Temperaturfühler

Default Icon
Print Icon
To Next Page IconTo Next Page
To Next Page IconTo Next Page
To Previous Page IconTo Previous Page
To Previous Page IconTo Previous Page
Loading...
- 142 -
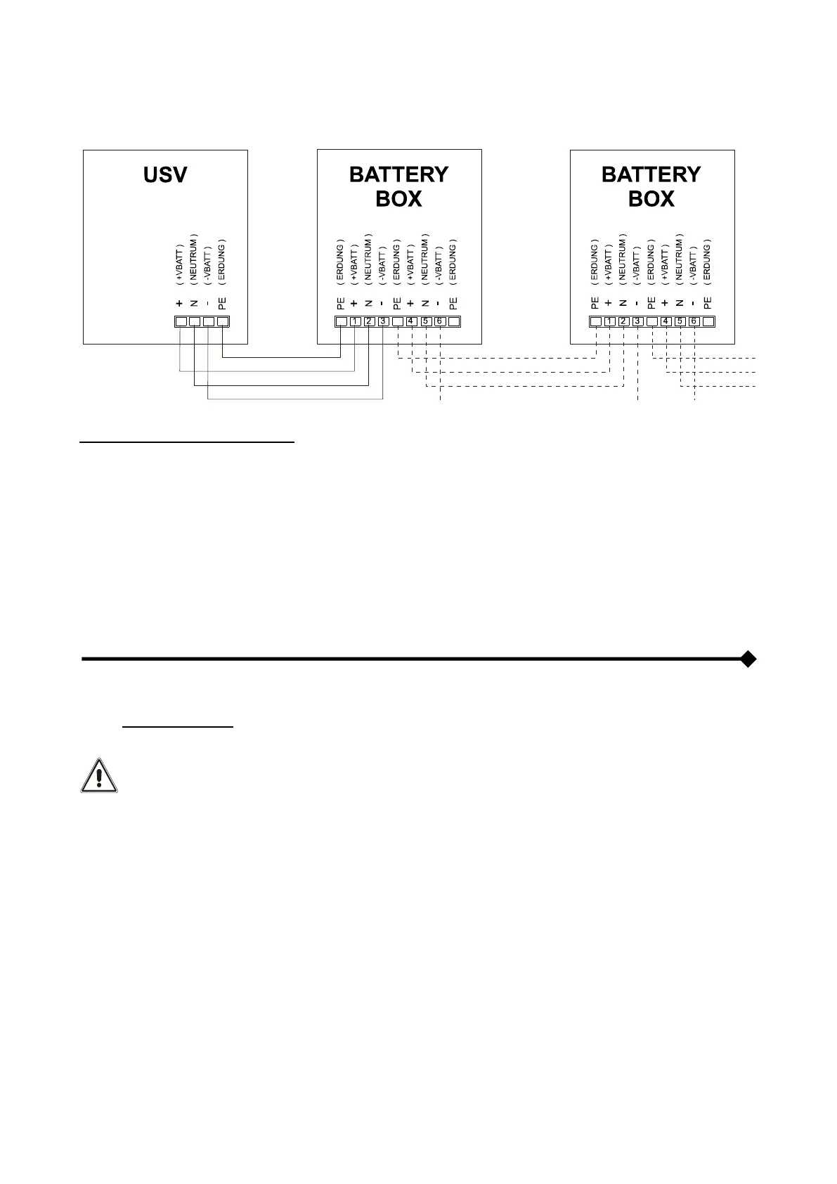
MEHRFACH-ERWEITERUNGEN
Es ist möglich in Kaskadenschaltung mehrere Battery Boxen miteinander zu verbinden, um einen längeren
Reservebetrieb zu erzielen. Zusammengefasst müssen die Anschlüsse wie unten dargestellt erfolgen:
ACHTUNG (Nur für einzelnes CPS): Pro Battery Box oder bei mehreren kaskadengeschalteten Battery Boxen
darf immer nur eine CPS angeschlossen werden.
EINSTELLUNG DER BATTERIE-NENNLEISTUNG SOFTWARE-KONFIGURATION
Nach der Installation einer BATTERY BOX oder mehrerer BATTERY BOXEN muss die CPS zur Aktualisierung des
Nennleistungs-Werts konfiguriert werden (Gesamtanzahl Amperestunden Batterien in der CPS + externe Batterien).
Um diese Arbeit vorzunehmen, muss die Konfigurationssoftware benutzt werden.
EXTERNER TEMPERATURFÜHLER
Dieser NICHT ISOLIERTE Eingang kann zur Messung der Innentemperatur einer entfernt aufgestellten Battery Box
verwendet werden.
Es darf nur die extra vom Hersteller gelieferte Ausrüstung verwendet werden: der eventuelle, nicht den
Angaben konforme Gebrauch kann zu Störungen oder Beschädigungen des Geräts führen.
Für die eventuelle Installation das in der entsprechenden Ausrüstung enthaltene Kabel an den Steckverbinder "EXT
BATTERY TEMP PROBE" (siehe "Ansichten CPS-Anschlüsse" Punkt 18) anschließen.
Nach der Installation führen Sie über die Konfigurationssoftware die Freischaltung zur Messung der Außentemperatur
durch.

Table of Contents

Other manuals for Gtec SATURN

Related product manuals