EasyManua.ls Logo

Gtec SATURN - Empleo; Descripción

Default Icon
Print Icon
To Next Page IconTo Next Page
To Next Page IconTo Next Page
To Previous Page IconTo Previous Page
To Previous Page IconTo Previous Page
Loading...
- 257 -
EMPLEO
DESCRIPCIÓN
Nuestra serie de CPS está desarrollada para emplearse en sistemas de emergencia de conformidad con la norma EN
50171. La finalidad de un CPS es la de garantizar una perfecta tensión de alimentación a los aparatos a los que está
conectado, tanto con red como sin ella. Una vez que se conecta y tiene suministro, el CPS comienza a generar una
tensión alterna sinusoidal de amplitud y frecuencia estables, independientemente de los saltos y/o variaciones presentes
en la red eléctrica. Hasta que el CPS consiga energía de la red, las baterías se están cargando bajo el control de la
tarjeta multiprocesador. A su vez, dicha tarjeta controla constantemente la amplitud y la frecuencia de la tensión de red,
la amplitud y la frecuencia de la tensión generada por el inversor, la carga aplicada, la temperatura interna, y el estado
de eficiencia de las baterías.
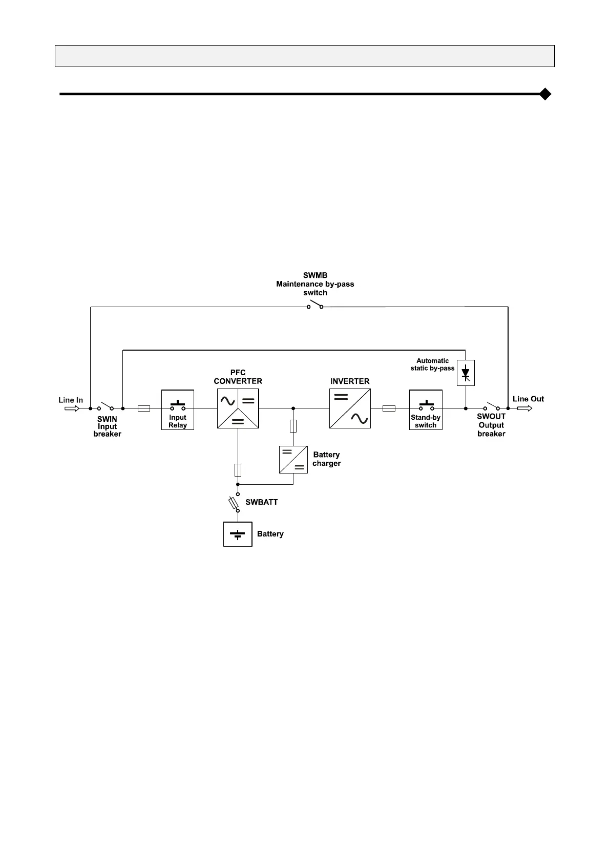
A continuación, se muestra el diagrama de bloques del CPS y se describen las piezas individuales que lo componen.
Diagrama de bloques del CPS
IMPORTANTE: Nuestros sistemas de alimentación ininterrumpida están concebidos y realizados para una larga
duración de vida, incluso en condiciones rigurosas de servicio. Sin embargo, se recuerda que se trata de equipos
eléctricos de potencia que, como tales, requieren un control periódico. Además, algunos componentes tienen su propio
ciclo de vida, por lo que es preciso comprobarlos periódicamente y eventualmente, si así lo requieren las condiciones,
sustituirlos: en especial las baterías, los ventiladores y, en ciertos casos, los condensadores electrolíticos.
Por lo tanto, se recomienda elaborar un programa de mantenimiento preventivo que deberá ser realizado por personal
especializado y autorizado por el fabricante.
Nuestro Servicio de Asistencia está a su entera disposición para informarle de las diferentes opciones personalizadas de
mantenimiento preventivo.

Table of Contents

Other manuals for Gtec SATURN

Related product manuals