EasyManua.ls Logo

Gtec SATURN - Vista Pannello DI Controllo

Default Icon
Print Icon
To Next Page IconTo Next Page
To Next Page IconTo Next Page
To Previous Page IconTo Previous Page
To Previous Page IconTo Previous Page
Loading...
- 9 -
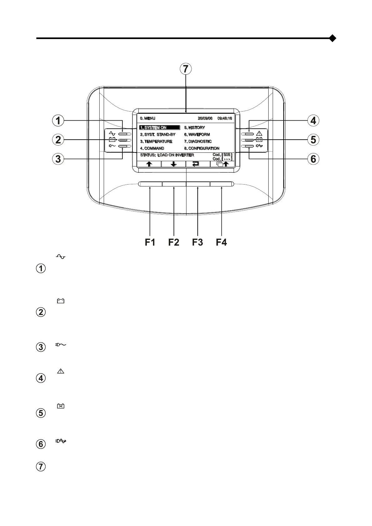
VISTA PANNELLO DI CONTROLLO
LED funzionamento da rete
Acceso fisso: funzionamento da rete con linea bypass buona e inverter sincronizzato
Lampeggiante: funzionamento da rete con linea bypass non buona o disabilitata e/o inverter non sincronizzato
Lampeggiante in Stand-by: funzione di riaccensione programmata attiva e rete presente
LED funzionamento da batteria
Acceso fisso: funzionamento da batteria
Lampeggiante: funzionamento da batteria con preallarme di fine scarica o shutdown imminente
Lampeggiante in Stand-by: funzione di riaccensione programmata attiva e rete assente
LED carico su bypass
Acceso fisso: carico alimentato da linea bypass
LED stand-by / allarme
Acceso fisso: allarme presente
Lampeggiante: stato di Stand-by
LED batterie da sostituire
Acceso fisso: batterie da sostituire
Lampeggiante: allarme batterie sovraccariche
LED modalità ECO
Acceso fisso: configurazione modalità ECO attiva
Display grafico
F1, F2, F3, F4 = TASTI FUNZIONE. La funzione di ogni tasto è indicata nella parte inferiore del display e varia a
seconda del menu.

Table of Contents

Other manuals for Gtec SATURN

Related product manuals