EasyManua.ls Logo

Gtec SATURN - Page 238

Default Icon
Print Icon
To Next Page IconTo Next Page
To Next Page IconTo Next Page
To Previous Page IconTo Previous Page
To Previous Page IconTo Previous Page
Loading...
- 238 -
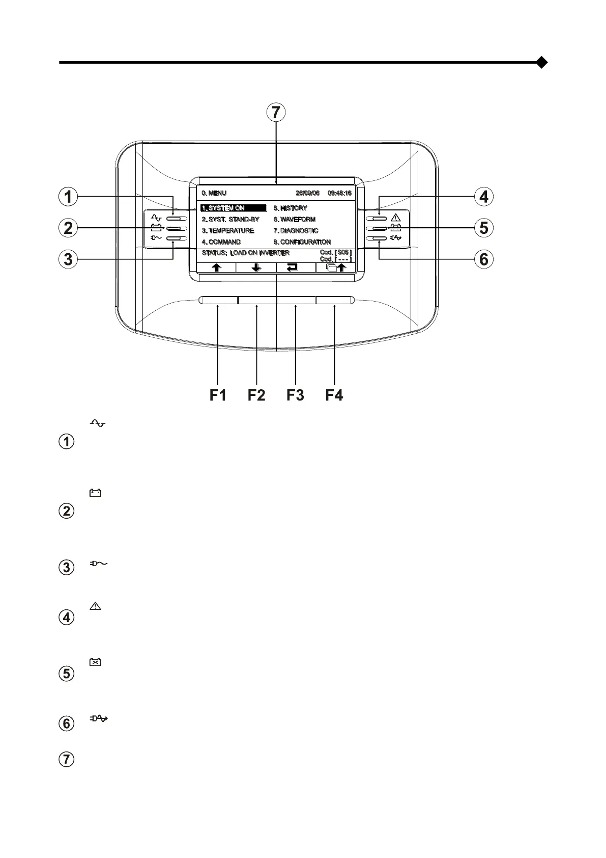
VISTA DEL PANEL DE CONTROL
LED funcionamiento por red
Encendido fijo: funcionamiento de red con línea bypass buena e inversor sincronizado
Intermitente: funcionamiento por red con línea bypass no buena o deshabilitada y/o inversor no sincronizado
Intermitente en Stand-by: función de reencendido programada activada y red presente
LED funcionamiento por batería
Encendido fijo: funcionamiento por batería
Intermitente: funcionamiento por batería con alarma previa de final de descarga o shutdown inminente
Intermitente en Stand-by: función de reencendido programada activada y red ausente
LED carga en bypass
Encendido fijo: carga alimentada por la línea bypass
LED stand-by / alarma
Encendido fijo: alarma presente
Intermitente: estado de Stand-by
LED baterías a sustituir
Encendido fijo: baterías a sustituir
Intermitente: alarma de las baterías sobrecargadas
LED modalidad ECO
Encendido fijo: configuración en modalidad ECO activada
Pantalla gráfica
F1, F2, F3, F4 = TECLAS DE FUNCIÓN. La función de cada tecla está indicada en la parte inferior de la pantalla y
varía según el menú.

Table of Contents

Other manuals for Gtec SATURN

Related product manuals