EasyManua.ls Logo

Gtec SATURN - Page 255

Default Icon
Print Icon
To Next Page IconTo Next Page
To Next Page IconTo Next Page
To Previous Page IconTo Previous Page
To Previous Page IconTo Previous Page
Loading...
- 255 -
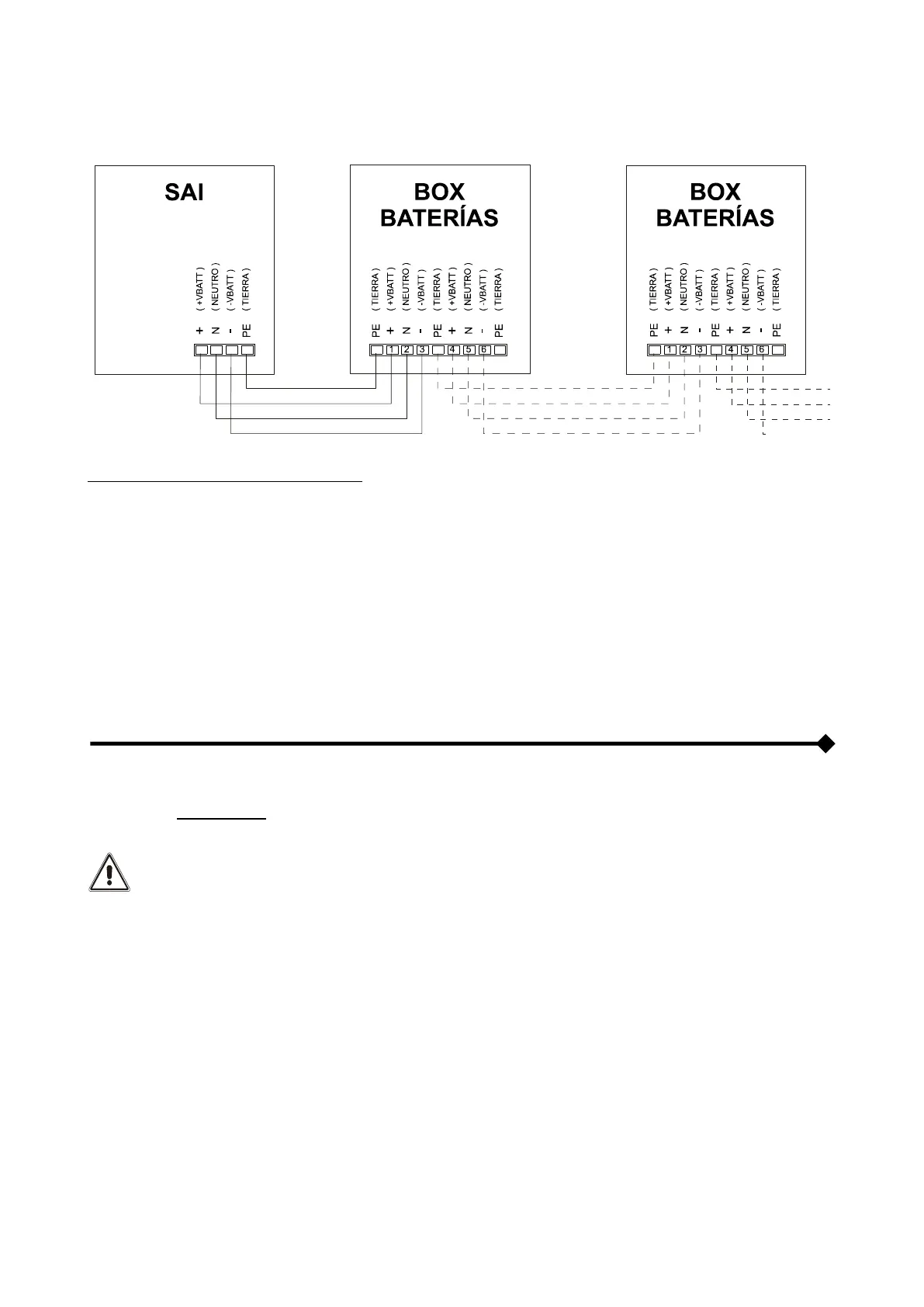
EXPANSIONES MÚLTIPLES
Se pueden conectar más paquetes de baterías en cascada para tener una autonomía de funcionamiento prolongada. A
modo de resumen, las conexiones deberán realizarse como se detalla a continuación:
ATENCIÓN (Solo para CPS sin paralelo): No se puede conectar más de un CPS a uno o varios paquetes de
baterías que estén conectados en cascada.
CONFIGURACIÓN DE LA CAPACIDAD NOMINAL DE LA BATERÍA CONFIGURACIÓN DEL
SOFTWARE
Tras haber instalado uno o más paquetes de baterías, es necesario configurar el CPS para actualizar el valor de
capacidad nominal (Ah totales de baterías internas en el CPS + baterías externas).
Para ejecutar dicha operación se debe utilizar el software de configuración dedicado.
SENSOR DE TEMPERATURA EXTERNO
Esta entrada NO AISLADA se puede emplear para conocer la temperatura del interior de un paquete de baterías
remoto.
Solamente hay que emplear el kit suministrado por el fabricante: se puede provocar un mal funcionamiento o
una rotura en el aparato si se emplea de forma que no se corresponda con lo descrito.
Para la instalación, conectar el cable contenido en el kit al conector “EXT BATTERY TEMP PROBE” (véase "Vista de las
conexiones del CPS" punto 18).
Después de la instalación realizar la habilitación de la función de medición de la temperatura externa mediante el
software de configuración.

Table of Contents

Other manuals for Gtec SATURN

Related product manuals