EasyManua.ls Logo

Korg Triton-Rack

Korg Triton-Rack
287 pages
To Next Page IconTo Next Page
To Next Page IconTo Next Page
To Previous Page IconTo Previous Page
To Previous Page IconTo Previous Page
Loading...
123
DISK
1.1
6. Disk mode
In Disk mode you can save and load internal memory data
to and from a oppy disk or a connected external SCSI
device (if the separately sold EXB-SCSI option is installed).
You can also make various settings related to saving and
loading.
The TRITON-Rack can use MS-DOS format 3.5 inch 2HD or
2DD oppy disks. After a oppy disk has been formatted on
the TRITON-Rack, a 2HD disk will have a capacity of 1.44
MB (18 sectors/track), and a 2DD disk will have a capacity
of 720 KB (9 sectors/track). When the EXB-SCSI option is
installed, up to 4 GB can be formatted on an external SCSI
device.
The TRITON-Rack cannot format media with a format of
other than 512 bytes/block (such as 640 MB, 1.3 GB MO
disks etc.).
For details on connecting external SCSI devices and setting
the ID, refer to the EXB-SCSI owners manual.
ISO9660 format is supported. ISO9660 level 1 CD-ROM
discs can be read. (Multi-session data can be read only if the
rst session is in ISO 9660 format.)
Files, directories, and icons
The TRITON-Rack manages data on disks and other media
in a hierarchical manner, using les and directories. The con-
tents of a le (whether it is a le or a directory) are indicated
not only by the name but also graphically by an icon. Files
and directories have differently shaped icons.
On the TRITON-Rack, les and directories that can be recog-
nized by MS-DOS (i.e., read by an MS-DOS computer) are
referred to as DOS les and DOS directories.
Various types of DOS les are distinguished by the exten-
sion that is added to the lename.
In the case of a DOS le with an extension other than listed
below, selecting Load selected to access the dialog box
will cause the le to be considered to be a Standard MIDI
File (SMF). However, non-SMF les cannot be loaded.
When you save a le on the TRITON-Rack, one of these le-
name extensions will automatically be added as appropriate
for the type of data.
If you change the lename extension of the following
les, they will be handled as undened les when you
attempt to load them again; they will not be loaded cor-
rectly.
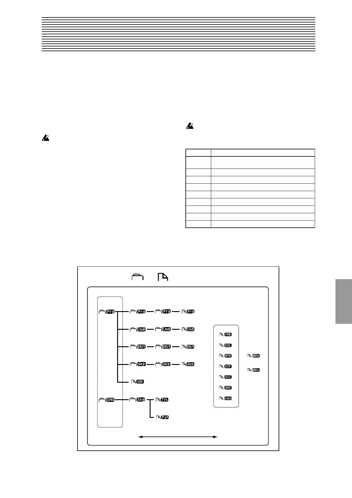
Files handled by the TRITON-Rack have the following
structure. Since .PCG and .SNG les can be opened to divide
their contents, they are displayed as directory icons.
Extension Type
.PCG Program, combination, drum kit, user arpeggio pattern,
global settings (TRITON format)
.SNG Multi (Song)
.MID Standard MIDI File (SMF)
.EXL MIDI exclusive data
.KMP Korg Multisample Parameter le (Korg format)
.KSF Korg Sample File (Korg format)
.KSC Korg Script File (Korg format)
.AIF AIFF le
.WAV WAVE le
Files that can be loaded
DOS files
.PCG file
.SNG file
1 multi
[000199]
Track
.EXL file
.KSC file
.KMP file
.KSF file
.MID file
.AIF file
.WAV file
AKAI format program file
AKAI format sample file
DOS directory Undefined DOS file
DOS file
Up Open
All programs
All combinations
All drum kits
All user arpeggio
patterns
Global settings
1 program
bank [I-AI-F, E-AE-H]
1 program
1 combination
bank [I-AI-E, E-AE-H]
1 combination
1 drum kit group
I-A/B, E-AE-H]
1 drum kit
1 user arpeggio
pattern group
[I-A/B, E-AE-H]
1 user arpeggio
pattern
1 user pattern
[00099]

Table of Contents

Other manuals for Korg Triton-Rack

Related product manuals