EasyManua.ls Logo

Maeda MC285CB-3 - Page 48

Maeda MC285CB-3
256 pages
Print Icon
To Next Page IconTo Next Page
To Next Page IconTo Next Page
To Previous Page IconTo Previous Page
To Previous Page IconTo Previous Page
Loading...
Section 3 RATED TOTAL LOAD CHARTS Mini-Crawler Crane M A E D A
3-12 9/2020 MC285CB-3
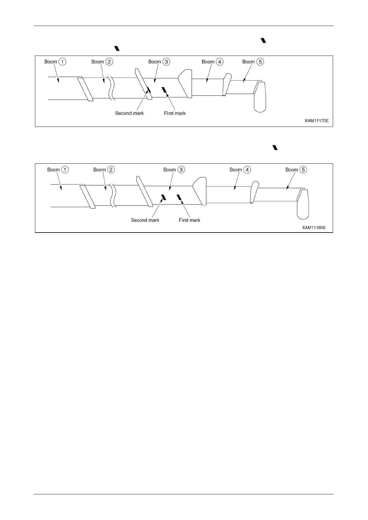
4) 5.580-7.075 m Boom: When boom begins to extend past the first mark until the boom extends
until the second mark is visible at the end of boom .
Fig. 3-13
5) 7.080-8.575 m Boom: When boom begins to extend past the second mark until booms +
+ + + are fully extended.
Fig. 3-14

Table of Contents

Related product manuals