EasyManua.ls Logo

Mitsubishi Q02CPU - Page 101

Mitsubishi Q02CPU
692 pages
Print Icon
To Next Page IconTo Next Page
To Next Page IconTo Next Page
To Previous Page IconTo Previous Page
To Previous Page IconTo Previous Page
Loading...
3
SEQUENCE PROGRAM CONFIGURATION AND
EXECUTION CONDITIONS
3.3 Settings for Creation and Execution of Multiple Sequence Programs
3.3.3 Low speed execution type program
3
- 36
1
Overview
2
Performance
Specification
3
Sequence Program
Configuration and
Execution Conditions
4
I/O Nunber Assignment
5
Memories and Files
Handled by CPU Module
6
Functions
7
Communication with
Intelligent Function
Module
8
Parameters
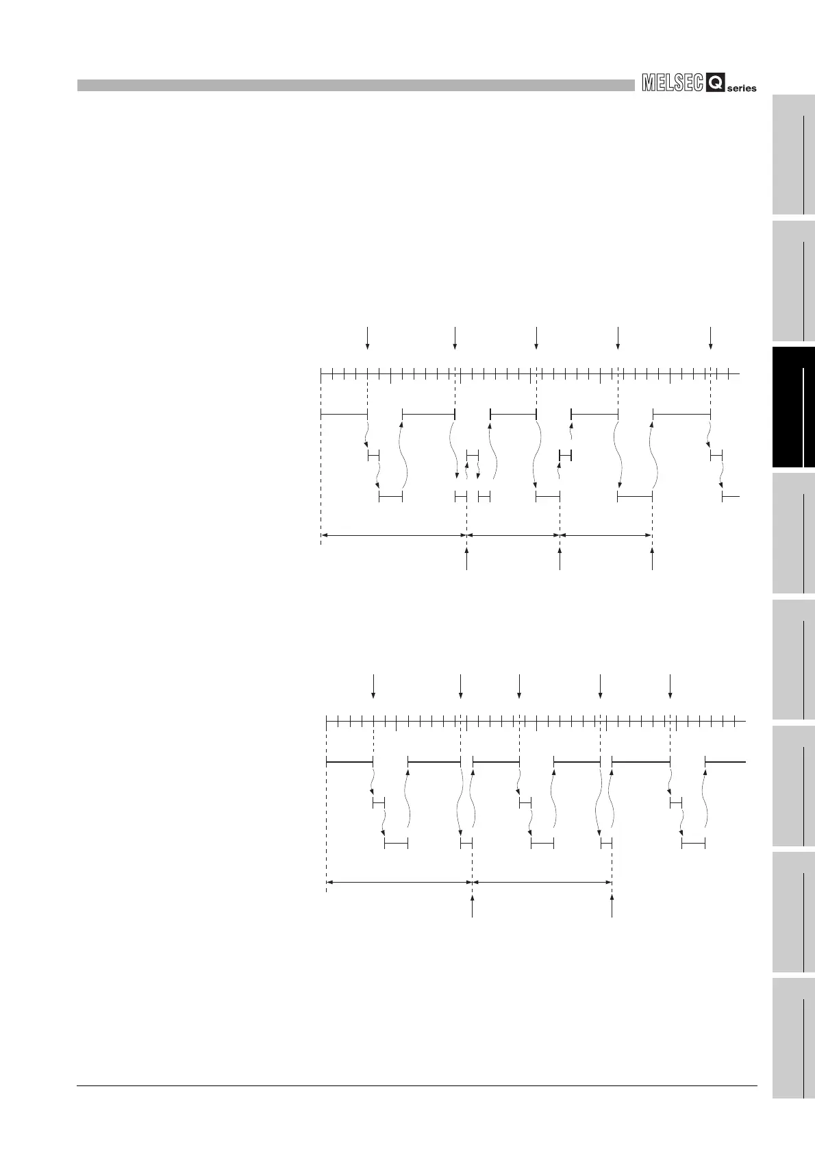
When low speed program execution time is set
The following timing charts show the operations performed when low speed execution
type programs are executed under the conditions given below.
Low speed program execution time : 3ms
Total execution time of scan execution type programs : 4 to 5ms
Execution time of low speed execution type program A : 1ms
Execution time of low speed execution type program B : 3ms
END processing/low speed END processing : 0ms (assumed to be 0ms for easy
understanding)
Diagram 3.32 Asynchronized tracking mode (SM330: OFF)
Diagram 3.33 Synchronized tracking mode (SM330: ON)
0 18.5 25.5 33.5
(ms)
4ms
1ms
2ms
4.5ms
1ms
4ms
Low speed scan time
411.5
2ms
1ms1ms
1ms
1ms
4ms 5ms
3ms
Scan execution type
program
Low speed execution
type program A
Low speed execution
type program B
Low speed
scan time
(12.5ms)
Low speed
scan time
(8ms)(8ms)
Low speed END
processing
execution
Low speed END
processing
execution
Low speed END
processing
execution
END
processing
END
processing
END
processing
END
processing
END
processing
0 16.5 23.5 29.5
(ms)
4ms
1ms
2ms
4.5ms
1ms
4ms
2ms
411.5
1ms
1ms1ms
5ms
2ms
4ms
Scan execution type
program
Low speed execution
type program A
Low speed execution
type program B
Low speed scan time
Low speed scan time
(12.5ms)
(12ms)
Low speed END
processing execution
Low speed END
processing execution
END
processing
END
processing
END
processing
END
processing
END
processing

Table of Contents

Other manuals for Mitsubishi Q02CPU

Related product manuals