EasyManua.ls Logo

Panasonic FP-XH Series - Page 63

Panasonic FP-XH Series
194 pages
To Next Page IconTo Next Page
To Next Page IconTo Next Page
To Previous Page IconTo Previous Page
To Previous Page IconTo Previous Page
Loading...
Target speed
Target speed
Target speed
Target speed
Target speed
Limit stop
deceleration time
Home return
deceleration time
Home return
deceleration time
Home return
deceleration time
Home return
deceleration time
Home return creep speed
Home return creep speed
Home return creep speed
Home return creep speed
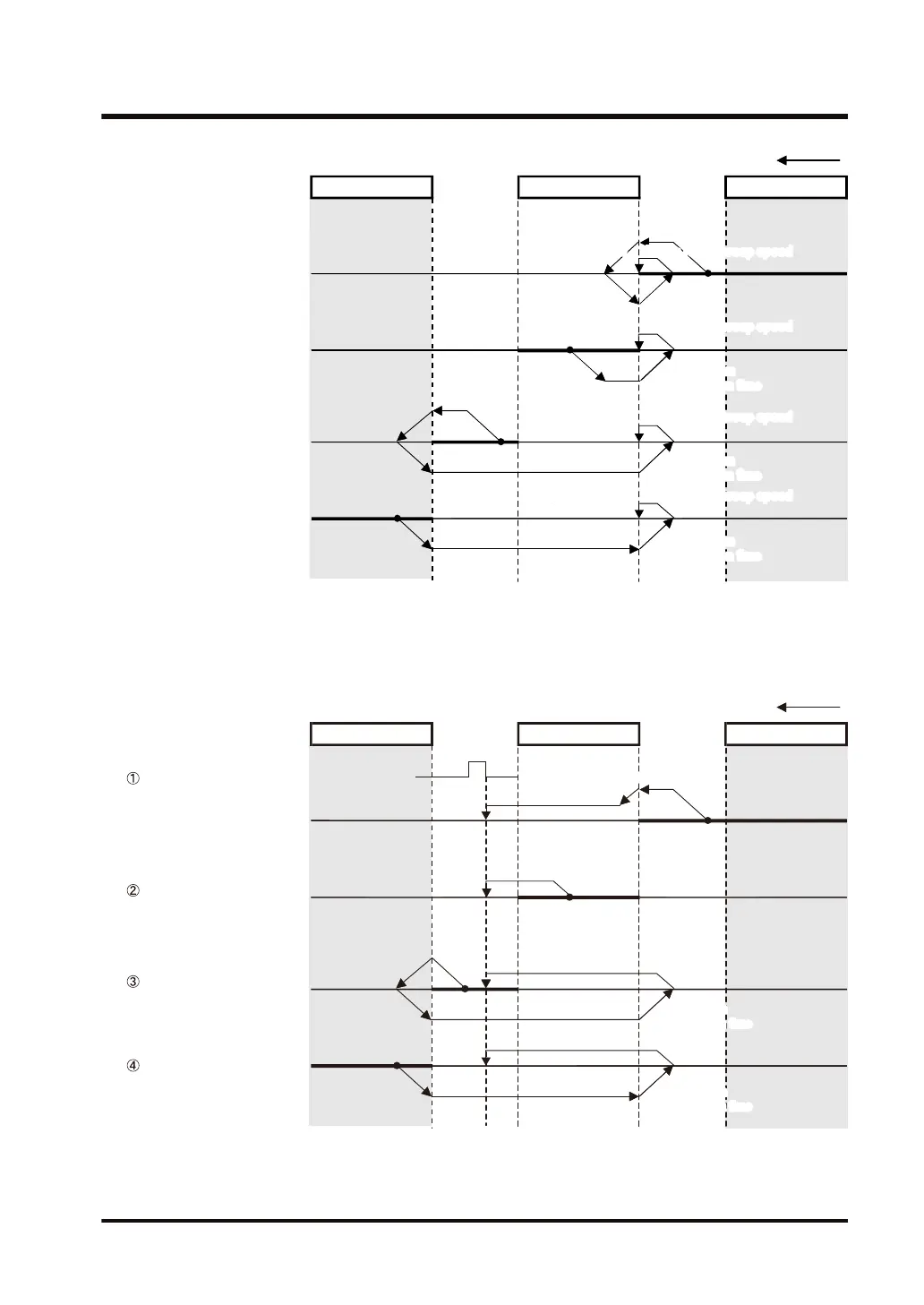
Limit (-) switch Limit (+) switchNear home switch
Home return direction
The starting point is
between the near home
switch and limit (+) switch.
The starting point is
between the near home
switch and limit (-) switch.
The starting point is on the
near home switch.
The starting point is on the
limit (-) switch.
DOG method 3 (Edge detection of near home switch + Home switch, based on
back end)
The leading edge of the first home switch in the home return direction is set as a home position
after the detection of the trailing edge (back end) of the near home switch.
Limit (-) switch Limit (+) switchNear home switch
Home return direction
The starting point is
between the near home
switch and limit (+) switch.
The starting point is
between the near home
switch and limit (-) switch.
The starting point is on the
near home switch.
The starting point is on the
limit (-) switch.
Home switch
Home return creep speedHome return creep speed
Home return creep speedHome return creep speed
Home return creep speedHome return creep speed
Home return creep speedHome return creep speed
Target speed
Target speed
Target speed
Limit stop
deceleration time
Home return
deceleration time
Home return
deceleration time
Home return
deceleration time
5.3 Home Return
WUME-FPXHPOSG-01 5-11

Table of Contents

Related product manuals