EasyManua.ls Logo

Pfaff 1571 - Page 63

Pfaff 1571
142 pages
Print Icon
To Next Page IconTo Next Page
To Next Page IconTo Next Page
To Previous Page IconTo Previous Page
To Previous Page IconTo Previous Page
Loading...
Input
11 - 10
A
B
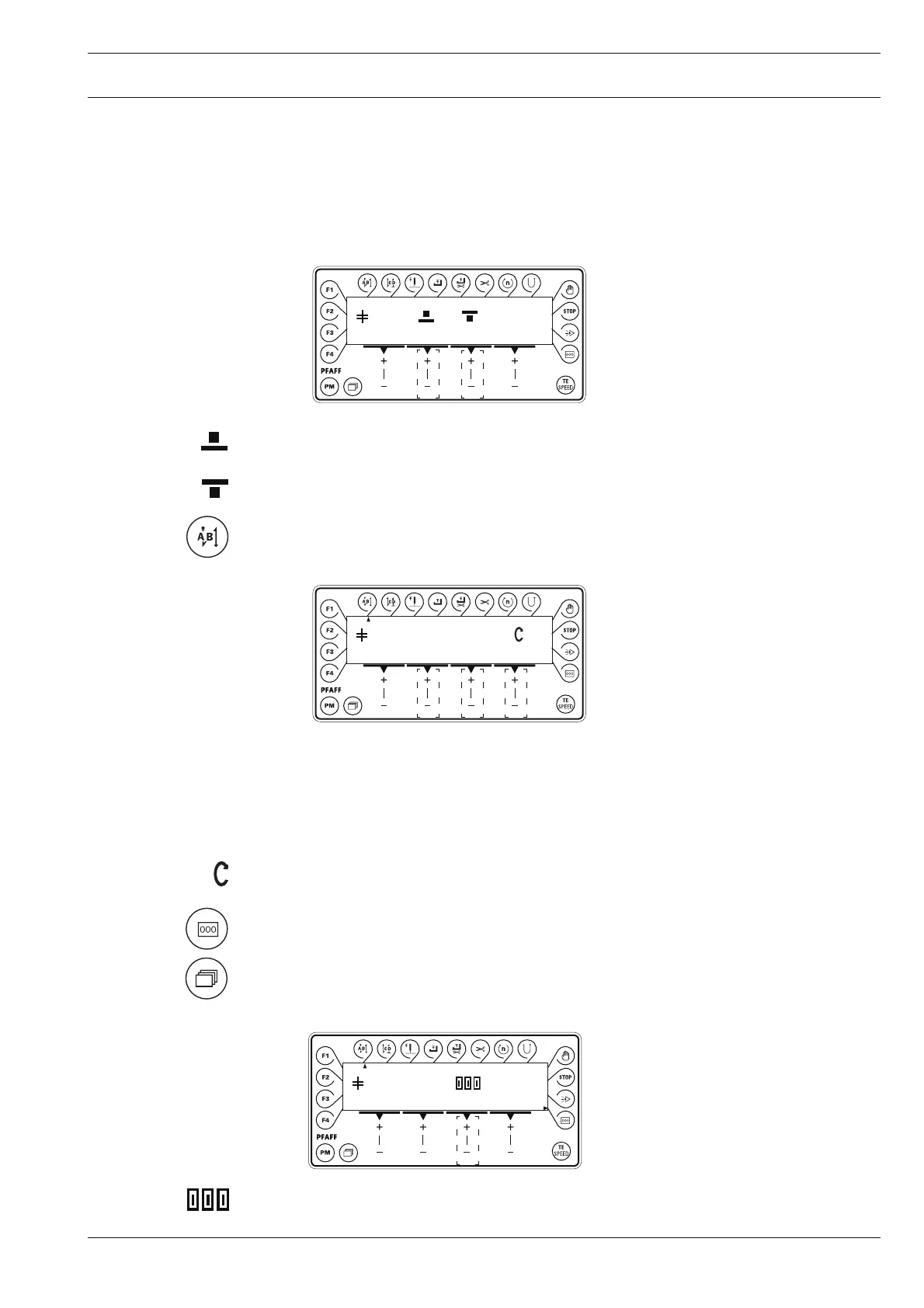
By pressing the corresponding +/- key set the stitch length for the roller presser at "3.5".
By pressing the corresponding +/- key set the stitch length for the feed wheel at "3.5".
By pressing the start backtack key, switch on the corresponding function.
The display changes for the input of the start backtack values.
By pressing the corresponding +/- key set the number of forward stitches at "2 ".
By pressing the corresponding +/- key set the number of reverse stitches at "2 ".
By pressing the corresponding +/- key set the backtack speed at "700".
By pressing the stitch count key, switch on the corresponding function.
The display changes for the input of the number of stitches.
If the stitch count function is already switched on, change by pressing the Scroll key.
The first seam section should have
- a double start backtack (2 forward and 2 reverse stitches)
- backtack speed of 700 spm
- stitch count (5 stitches)
- a 3.5 mm stitch length (for roller presser and feed wheel).
By pressing the corresponding +/- key set the number of stitches at"5".
1
1 3.5 3.5
PM
1 A B
1 2 2 700
PM
1
15
PM

Table of Contents

Other manuals for Pfaff 1571

Related product manuals