EasyManua.ls Logo

Pfaff 1571 - Page 67

Pfaff 1571
142 pages
Print Icon
To Next Page IconTo Next Page
To Next Page IconTo Next Page
To Previous Page IconTo Previous Page
To Previous Page IconTo Previous Page
Loading...
Input
11 - 14
5 C D
5 1 1 700
PM
By pressing the corresponding +/- key set the number of reverse stitches at "1".
By pressing the corresponding +/- key set the number of forward stitches at "1".
By pressing the corresponding +/- key set the backtack speed at "700".
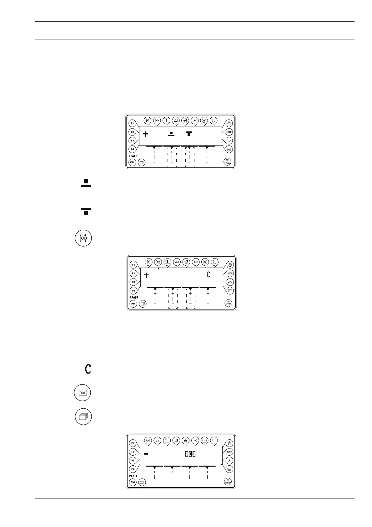
By pressing the stitch count key, switch on the corresponding function.
The display changes for the input of the number of stitches.
If the stitch count function is already switched on, change by pressing the Scroll key.
C
D
5
51
PM
By pressing the corresponding +/- key set the stitch length for the roller presser
at "5.0 ".
By pressing the corresponding +/- key set the stitch length for the feed wheel at "5.0".
By pressing the end backtack key, switch on the corresponding function.
The display changes for the input of the number of stitches for the end backtack
The fifth seam section should have
- a double end backtack
- a 5 mm stitch length (for roller presser and feed wheel)
- backtack speed of 700 spm
- a stitch count (1 stitch)
- and the thread trimming function at the end of the seam section.
5
5 5.0 5.0
PM

Table of Contents

Other manuals for Pfaff 1571

Related product manuals