EasyManua.ls Logo

Pilz PSEN sc M 3 Series - Page 57

Pilz PSEN sc M 3 Series
145 pages
Print Icon
To Next Page IconTo Next Page
To Next Page IconTo Next Page
To Previous Page IconTo Previous Page
To Previous Page IconTo Previous Page
Loading...
Project configuration
Operating Manual PSEN sc M 3.0/5.5 08-17
1005387-EN-05
| 57
L
A1B1
[1]
A2
B2
D
A-B
V
D
MutingOff
D
A-B
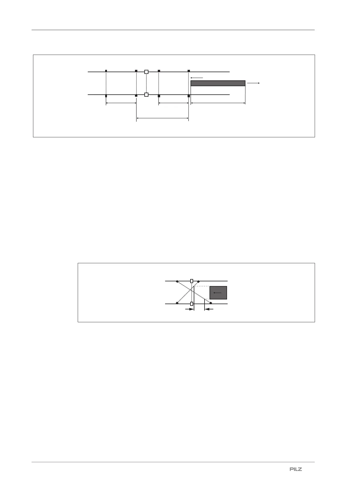
Fig.: Distances between muting sensors - 4 muting sensors
Legend
[1] Safety laser scanner
A1 First muting sensor on the input side, connected to Muting 11
B1 Second muting sensor on the input side, connected to Muting 12
A2 First muting sensor on the output side, connected to Muting 11
B2 Second muting sensor on the output side, connected to Muting 12
L Length of the object that triggers the muting state as it passes the muting
sensors
V Speed at which the object is moving
D
A-B
Distance between the muting sensors A1 and B1, and between A2 and B2
D
MutingOff
Distance between muting sensor A1 and muting sensor A2
B1
V
d2
[1]
A1
Fig.: Distances between muting sensors - Cross muting
Legend
[1] Safety laser scanner
A1 First muting sensor on the input side, connected to Muting 11
B1 Second muting sensor on the input side, connected to Muting 12
d2 Distance that the object covers from the first muting sensor A1 to the second mut-
ing sensor B2 in max. 4 s
V Speed at which the object is moving

Table of Contents

Related product manuals