EasyManua.ls Logo

Printronix P5000 - Page 264

Printronix P5000
406 pages
Print Icon
To Next Page IconTo Next Page
To Next Page IconTo Next Page
To Previous Page IconTo Previous Page
To Previous Page IconTo Previous Page
Loading...
264
Chapter 6 Controller Board
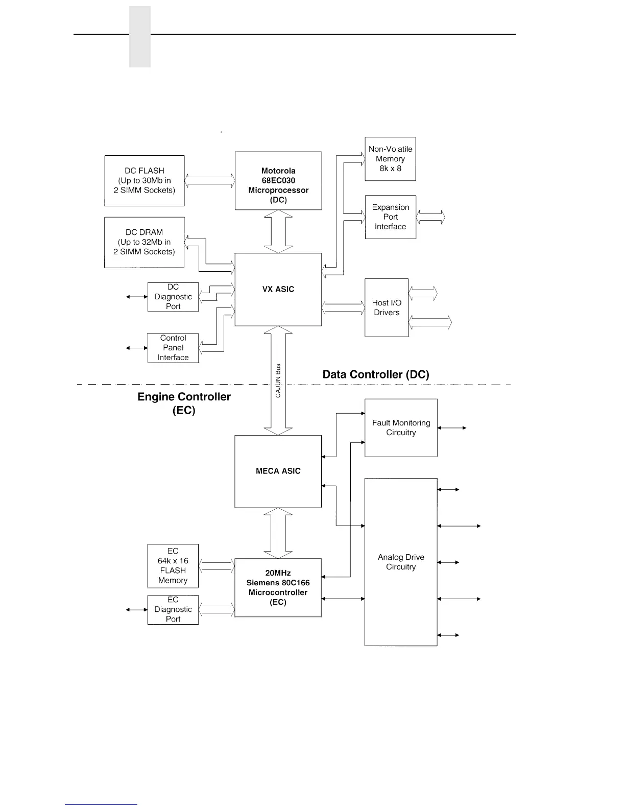
Figure 56. Controller Board Block Diagram
Expansion
Port
RS-232/422
IEEE-1284
(Parallel)
Fault
Sensors
Paper
Feed
Ribbon
Shuttle
Platen
Hammer
Drive
TTL
Diagnostic
Port
Control
Panel
RS-232
Diagnostic
Port
25 or 40 MHz

Table of Contents

Other manuals for Printronix P5000

Related product manuals