EasyManua.ls Logo

Ricoh CH-C1 - Page 98

Ricoh CH-C1
682 pages
Print Icon
To Next Page IconTo Next Page
To Next Page IconTo Next Page
To Previous Page IconTo Previous Page
To Previous Page IconTo Previous Page
Loading...
Technical Bulletin PAGE: 5/11
Reissued:27-Mar-14
Model: CH-C1 Finisher SR4110
Date: 11-Oct-13
No.: RD135038a
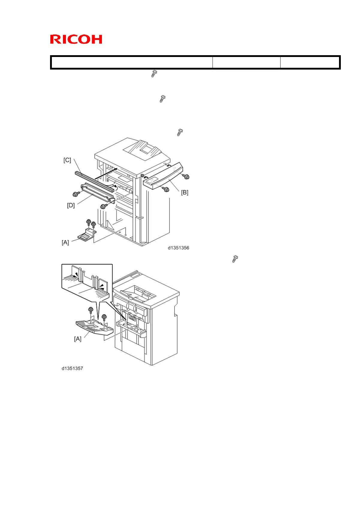
6. Install the ground plate [A]. ( x 2; M3 x 6)
Set the ground plate so that there is no gap between the plate and the bottom
frame of the finisher (as shown).
7. Install the table extension [B]. ( x 2; M4 x 8)
The edge of the table extension should be aligned with the edge of the
finisher.
8. Attach the cushion [C] to the right side of the upper cover.
9. Install the entrance guide plate [D]. ( x 2; M3 x 6)
10. Insert the shift tray [A] into the grooves and fasten it. ( x 4; M3 x 8)

Table of Contents