EasyManua.ls Logo

SICK FX0-GMOD - Page 33

SICK FX0-GMOD
200 pages
Print Icon
To Next Page IconTo Next Page
To Next Page IconTo Next Page
To Previous Page IconTo Previous Page
To Previous Page IconTo Previous Page
Loading...
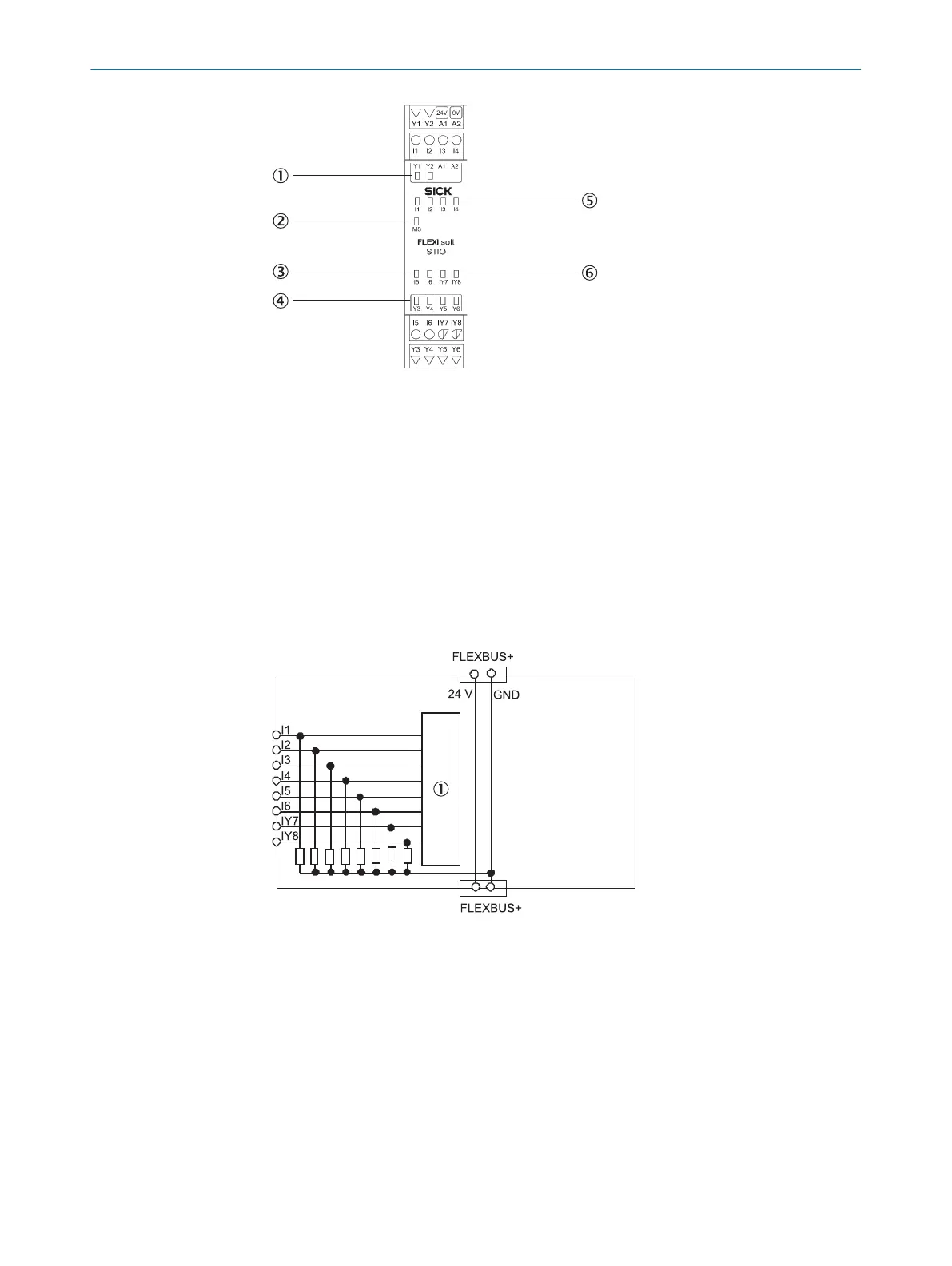
Figure 15: I/O module FX0-STIO
1
2 output LEDs
2
MS LED (Module St
atus)
3
2 input LEDs
4
4 output LEDs
5
4 input LEDs
6
2 LEDs for configurable inputs or outputs
Further topics
"C
onstruction and function", page 17
3.4.9.1 Internal circuitry
Figure 16: Internal structure of the FX0-STIO – non-safe inputs
1
Internal logic
PRODUCT DESCRIPTION 3
8012478/1IG6/2023-02-24 | SICK O P E R A T I N G I N S T R U C T I O N S | Flexi Soft Modular Safety Controller
33
Subject to change without notice

Table of Contents

Related product manuals