EasyManua.ls Logo

Sun Microsystems SPARCstation 10 - Page 87

Sun Microsystems SPARCstation 10
221 pages
Print Icon
To Next Page IconTo Next Page
To Next Page IconTo Next Page
To Previous Page IconTo Previous Page
To Previous Page IconTo Previous Page
Loading...
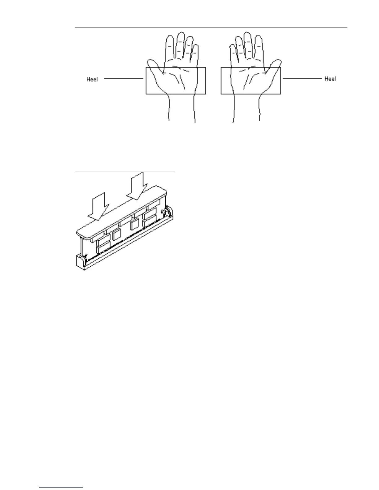
Figure 5–39 Heel of Each Hand
Figure 5–40 Using the Insertion Tool
5. Put the insertion tool away in a toolbox or other storage place. Do not leave the
tool inside the system.
6. Follow the instructions in Chapter 17 to detach the wrist strap, install the cover,
connect the expansion unit(s), and power on the system.
Main Logic Board 71

Table of Contents

Related product manuals