EasyManua.ls Logo

Tally Dascom 2600 - Chapter 5 Electronics; Electronic Block Diagram

Tally Dascom 2600
89 pages
Print Icon
To Next Page IconTo Next Page
To Next Page IconTo Next Page
To Previous Page IconTo Previous Page
To Previous Page IconTo Previous Page
Loading...
Tally Dascom 2600 2610
67
Chapter 5 Electronics
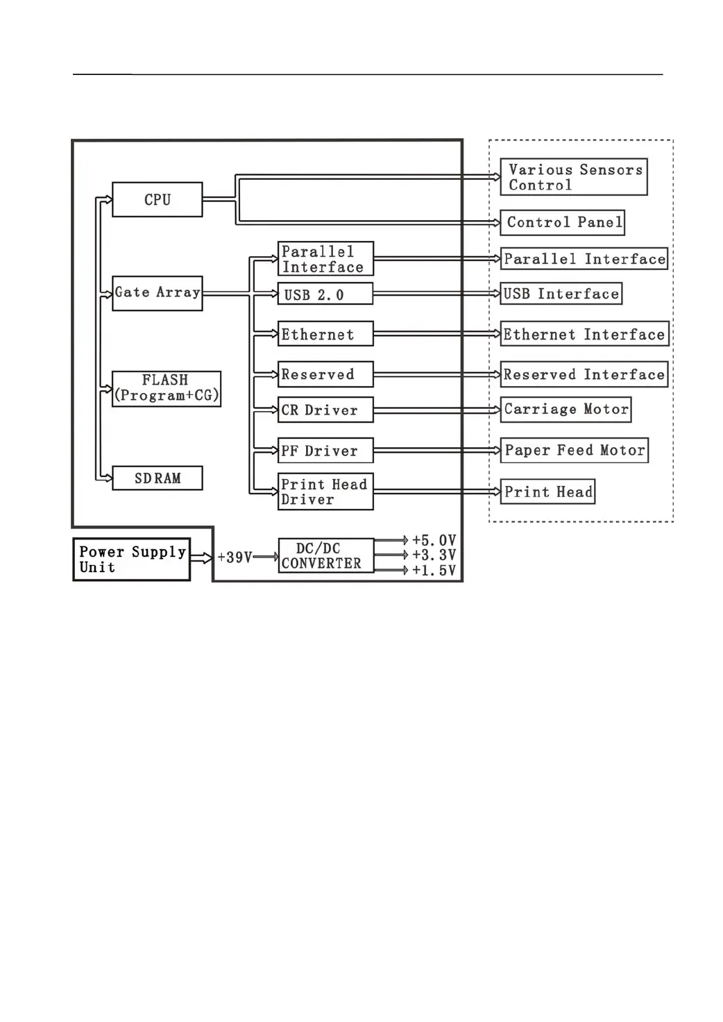
5.1 Electronic Block Diagram

Table of Contents

Related product manuals