EasyManua.ls Logo

Thermo King SB-210+ - Navigating the Main Menu

Thermo King SB-210+
209 pages
Print Icon
To Next Page IconTo Next Page
To Next Page IconTo Next Page
To Previous Page IconTo Previous Page
To Previous Page IconTo Previous Page
Loading...
Operating Instructions
78
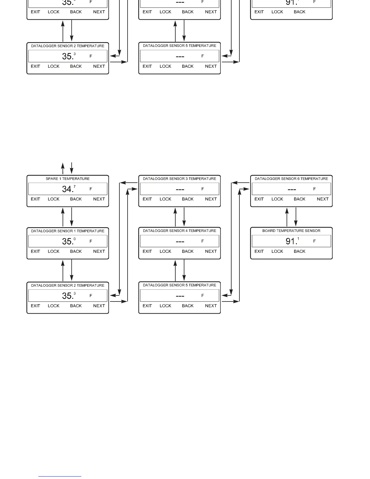
Figure 52: Viewing Sensors Screen Sequence (continued from previous page)
N
EXT
Key
B
ACK
Key
Continued from previous page
N
EXT
Key
B
ACK
Key
B
ACK
Key
N
EXT
Key
B
ACK
Key
N
EXT
Key
B
ACK
Key
N
EXT
Key
B
ACK
Key
N
EXT
Key
B
ACK
Key
N
EXT
Key
B
ACK
Key
Operating Instructions
78
Figure 52: Viewing Sensors Screen Sequence (continued from previous page)
N
EXT
Key
B
ACK
Key
Continued from previous page
N
EXT
Key
B
ACK
Key
B
ACK
Key
N
EXT
Key
B
ACK
Key
N
EXT
Key
B
ACK
Key
N
EXT
Key
B
ACK
Key
N
EXT
Key
B
ACK
Key
N
EXT
Key
B
ACK
Key

Table of Contents

Related product manuals