EasyManua.ls Logo

Yamaha E40J - Page 166

Yamaha E40J
200 pages
Print Icon
To Next Page IconTo Next Page
To Next Page IconTo Next Page
To Previous Page IconTo Previous Page
To Previous Page IconTo Previous Page
Loading...
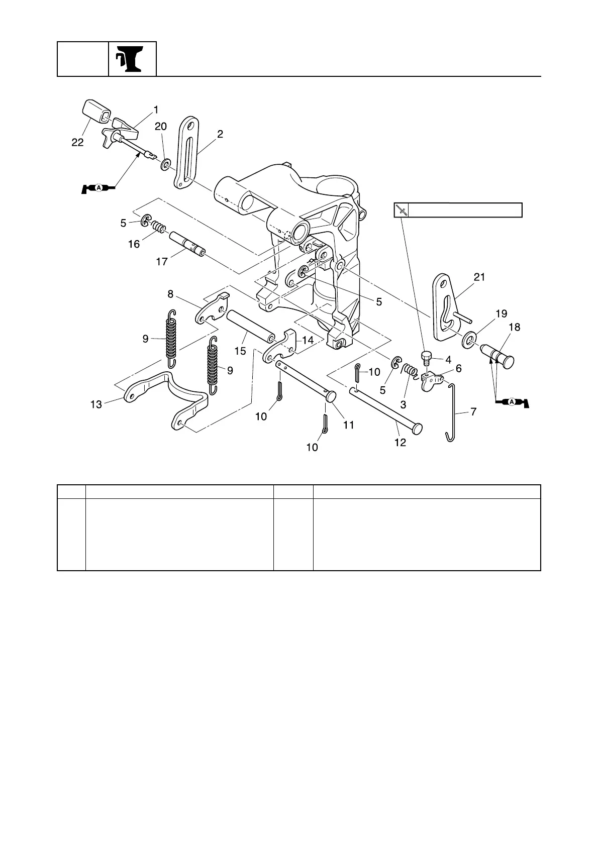
BRKT
7-17
6F65G11
Bracket unit
6F67060E
4 N·m (0.4 kgf·m, 3.0 ft·lb)
No. Part name Qty Remarks
18 Pin 1
19 Washer 1
20 Washer 1
21 Stopper plate (port side) 1
22 Cover 1

Table of Contents

Related product manuals