EasyManua.ls Logo

YASKAWA SGD7W - Page 263

YASKAWA SGD7W
337 pages
To Next Page IconTo Next Page
To Next Page IconTo Next Page
To Previous Page IconTo Previous Page
To Previous Page IconTo Previous Page
Loading...
11.1 Feedback Option Modules
11.1.1 Fully-Closed Modules
11
Option Modules
11-7
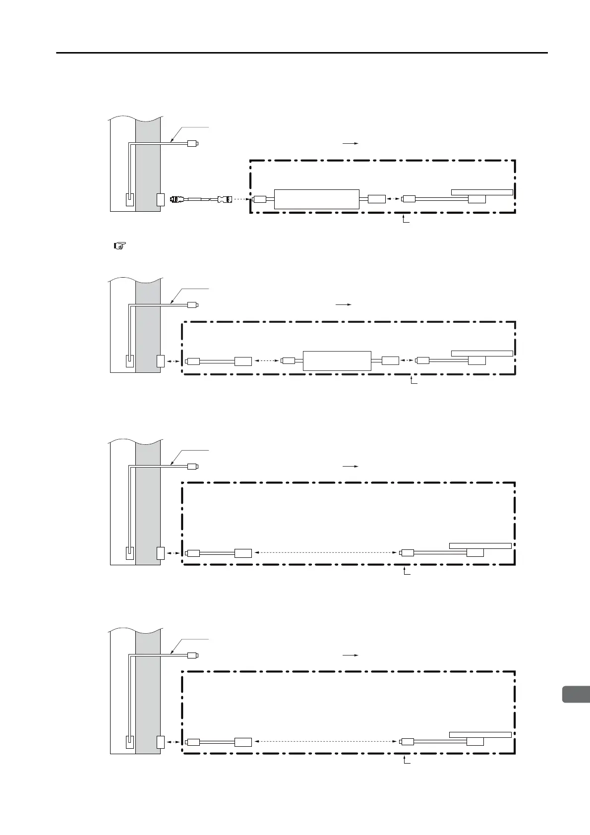
Connections to Linear Encoder from Magnescale Co., Ltd.
SL70 Linear Encoder and PL101-RY Sensor Head with Interpolator
* Refer to the following section for details on Encoder Cables.
9.3.5 Encoder Cables on page 9-21
SmartSCALE Linear Encoder (SQ10 Scale +MQ10-FLA Interpolator)
* Use an Encoder Cable from Magnescale Co., Ltd. The maximum length of the Encoder Cable is 15 m. Contact
Magnescale Co., Ltd. for specifications other than the cable length.
SR-75/SR-77/SR-85/SR-87 Linear Encoders
* Use a CH33-xxG Cable from Magnescale Co., Ltd. (This Cable has connectors designed for use with
Yaskawa products.)
SmartSCALE Linear Encoder (SQ47/SQ57)
* Use an Encoder Cable from Magnescale Co., Ltd.. Contact Magnescale Co., Ltd. for details on Encoder Cable
specifications.
CN31CN2
Range of products from Magnescale Co., Ltd.
SL70 Linear
Encoder from
Magnescale Co., Ltd.
PL101-RY Head with
Interpolator
Encoder Cable*
JZSP-CMP00--E
Connection to encoder in Rotary Servomotor
Encoder Cable
Fully-Closed
Module
SERVO-
PACK
CN31CN2
SQ10 Linear Encoder
from Magnescale Co., Ltd.
Range of products from Magnescale Co., Ltd.
MQ10-FLA
Interpolator
Connection to encoder in Rotary Servomotor
Encoder Cable
SERVO
PACKs
Fully-Closed
Module
Encoder Cable from
Magnescale Co., Ltd.
*
SR85-
LF
SR85-
MF
SR87-
LF
SR87-
MF
SR75-
LF
SR75-
MF
SR77-
LF
SR77-
MF
CN31CN2
Range of products from Magnescale Co., Ltd.
Linear Encoder from
Magnescale Co., Ltd.
Encoder Cable from Magnescale Co.,
Ltd.
*
Connection to encoder in Rotary Servomotor
Encoder Cable
Fully-Closed
Module
SERVO-
PACK
CN31CN2
Range of products from Magnescale Co., Ltd.
Linear Encoder from
Magnescale Co., Ltd.
SmartSCALE
Encoder Cable from Magnescale Co.,
Ltd.
*
Connection to encoder in Rotary Servomotor
Encoder Cable
Fully-Closed
Module
SERVO-
PACK

Table of Contents

Related product manuals