EasyManua.ls Logo

YASKAWA SGD7W - Page 264

YASKAWA SGD7W
337 pages
To Next Page IconTo Next Page
To Next Page IconTo Next Page
To Previous Page IconTo Previous Page
To Previous Page IconTo Previous Page
Loading...
11.1 Feedback Option Modules
11.1.1 Fully-Closed Modules
11-8
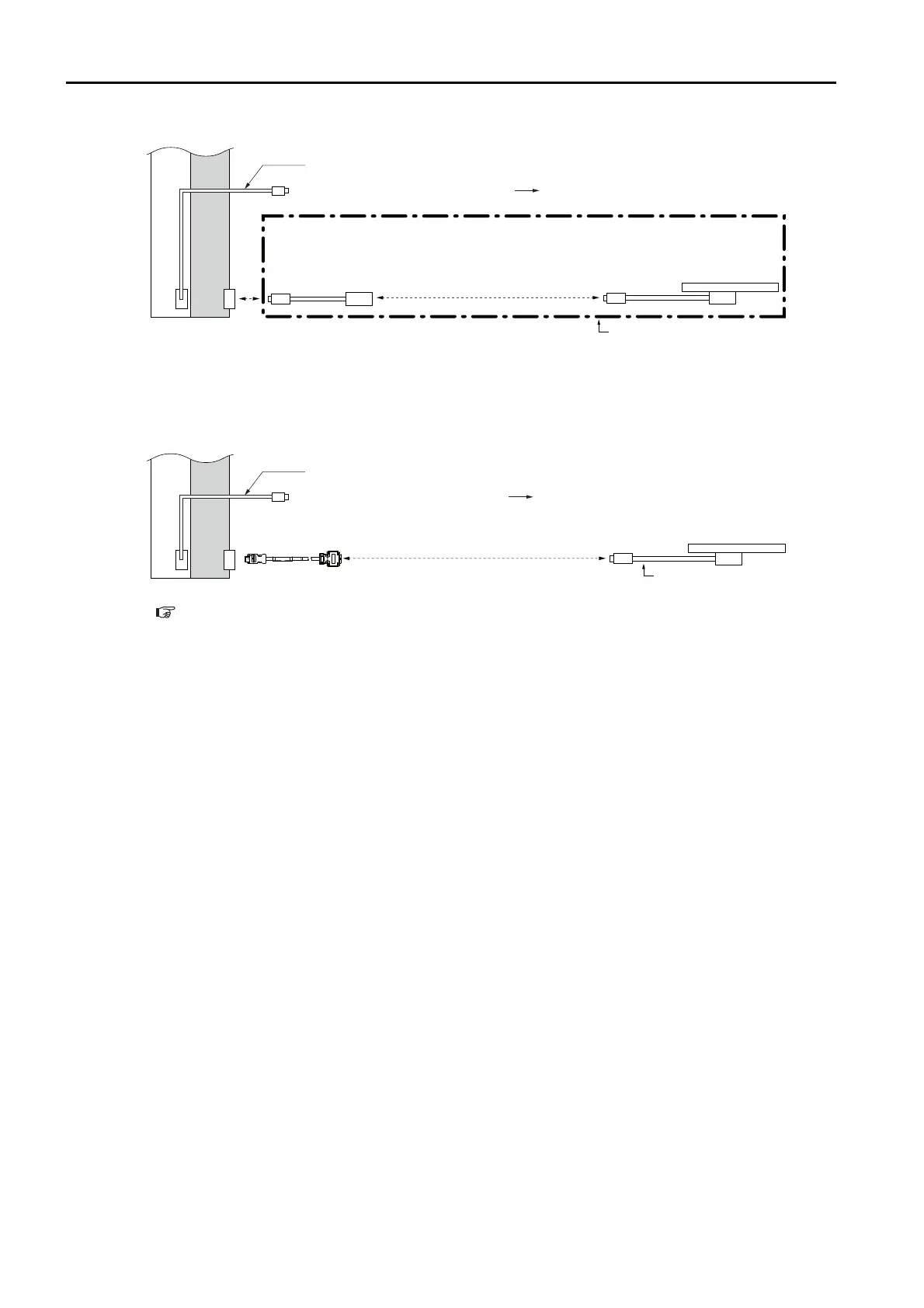
RU77-4096ADF/RU77-4096AFFT01 Absolute Rotary Encoders
* Use a CE28-Series Extension Cable for RU77 Encoder from Magnescale Co., Ltd.
Note: The RU77 is a single-turn Absolute Rotary Encoder.
Connections to Linear Encoders from Mitutoyo Corporation
ST78A/ST13 Linear Encoders
* Refer to the following section for details on Serial Converter Unit Cables.
9.3.3 Serial Converter Unit Cables on page 9-20
CN31CN2
RU77-4096ADF
RU77-4096AFFT01
Range of products from Magnescale Co., Ltd.
Rotary Encoder from
Magnescale Co., Ltd.
Encoder Cable from
Magnescale Co., Ltd.*
Connection to encoder in Rotary Servomotor
Encoder Cable
Fully-Closed
Module
SERVO-
PACK
ST784A
ST788A
ST789A
ST781A
ST782A
ST783A
CN31CN2
Linear Encoders from
Mitutoyo Corporation
Serial Converter Unit*
Cable
Connection to encoder in Rotary Servomotor
Encoder Cable
Cable from Mitutoyo Corporation
Fully-Closed
Module
SERVO-
PACK
ST1381
ST1382

Table of Contents

Related product manuals