EasyManua.ls Logo

Altendorf F45 ProDrive - Page 53

Altendorf F45 ProDrive
207 pages
Print Icon
To Next Page IconTo Next Page
To Next Page IconTo Next Page
To Previous Page IconTo Previous Page
To Previous Page IconTo Previous Page
Loading...
Transport, siting and installation
53
0000010038-003- GB
Transport, siting and installation
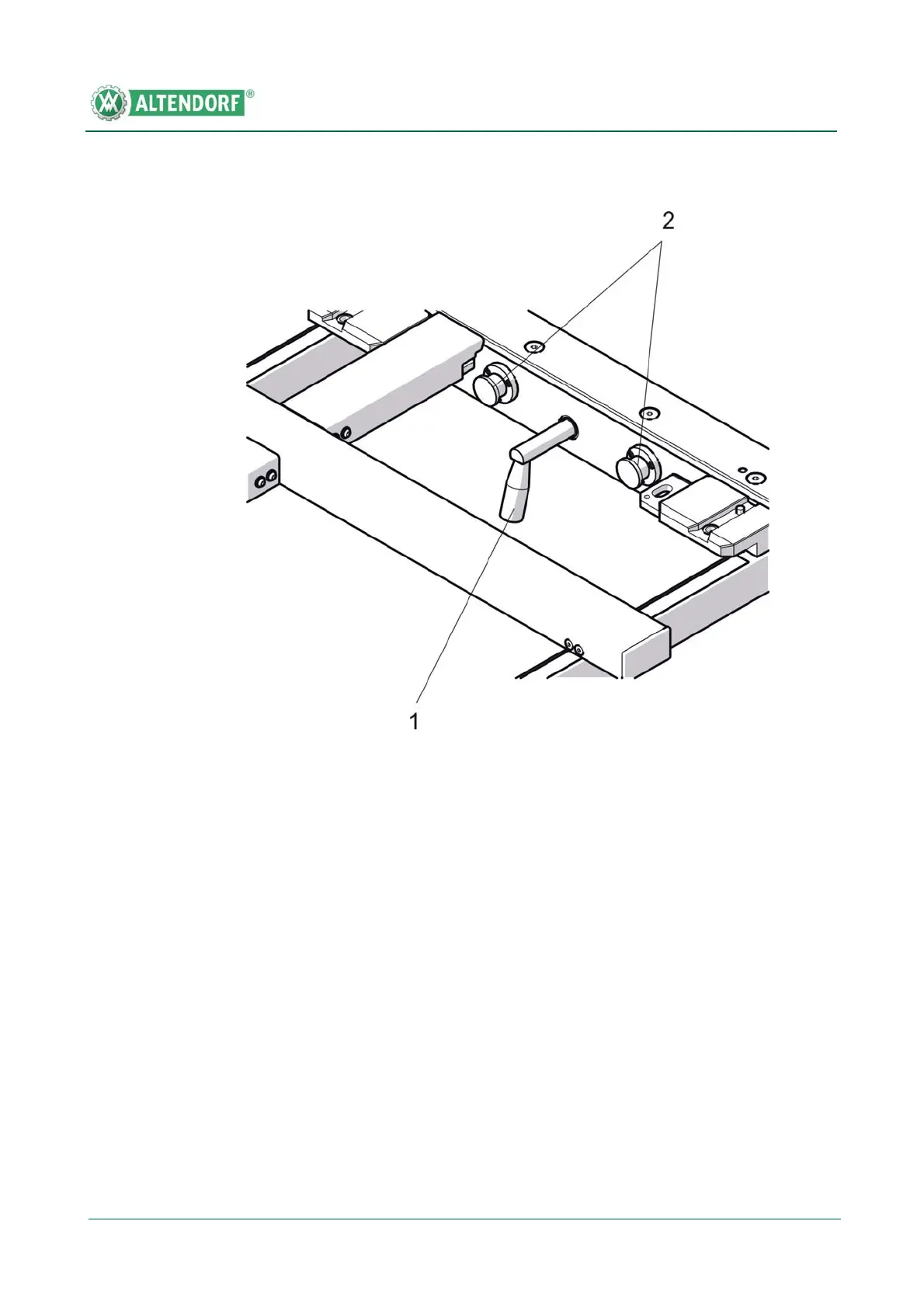
Cross-slide clamping, CNC crosscut fence DUO 90/DUO Flex
To push the cross-slide to other positions on the sliding table, undo the clam-
ping lever [1]. It is now possible to displace the cross-slide without a risk of the
cross-slide falling down.
To remove the cross-slide, pull out the safety locking mechanisms and turn
them. The safety locking mechanisms engage. The cross-slide can now be re-
moved completely.
When assembling the cross-slide, first hook it in and push the clamping lever all
the way to the fixed stop. Undo the safety locking mechanism and turn to enga-
ge.
Fig. 5-12 Cross-slide clamping, CNC crosscut fence DUO
[1] Eccentric clamping lever
[2] Safety locking mechanism

Table of Contents

Related product manuals