EasyManua.ls Logo

FUTABA 6k - Switch Assignment Table

FUTABA 6k
160 pages
Print Icon
To Next Page IconTo Next Page
To Next Page IconTo Next Page
To Previous Page IconTo Previous Page
To Previous Page IconTo Previous Page
Loading...
Before use
31
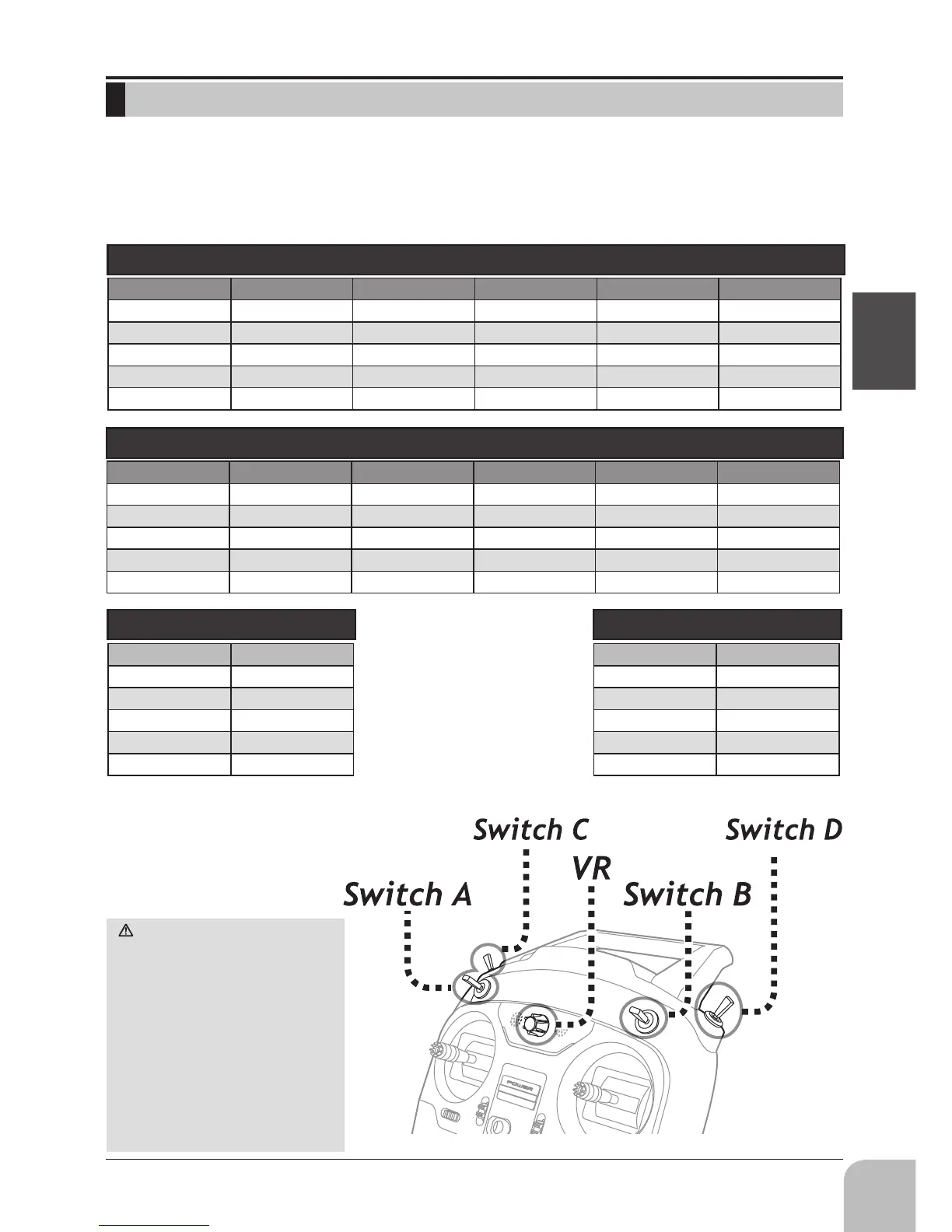
SWITCH ASSIGNMENT TABLE
• The factory default functions activated by the switches and VR for an 6K transmitter are shown
below.
• Most 6K functions may be reassigned to non-default positions quickly and easily.
• Basic control assignments of channels 5-6 are quickly adjustable in AUX-CH.
• Note that most functions need to be activated in the programming to operate.
Switch/VR 1AIL 1AIL1FLP 2AIL 2AIL1FLP ELEVON
Switch --- --- --- --- ---
Switch B CH6 CH6 --- --- CH6
Switch C CH5 CH5 CH5 CH5 CH5
Switch D --- --- --- --- ---
VR --- --- --- --- ---
Switch/VR 1AIL 1AIL1FLP 2AIL 2AIL1FLP 2AIL2FLP
Switch --- --- --- --- ---
SwitchB CH6 --- --- --- ---
SwitchC --- --- --- --- ---
SwitchD --- --- --- --- ---
VR CH5 Flap CH5 Flap Flap
Switch/VR HELICOPTER
Switch ---
SwitchB CH5
SwitchC IDLE-UP1/2
SwitchD THR-HOLD
VR ---
Switch/VR MULTI COPT
Switch ---
SwitchB ---
SwitchC ---
SwitchD CH5
VR ---
*When idle-up 1/2
and a throttle hold
were used.
AIRPLANE
GLIDER
HELICOPTER MULTI COPT
メニュー     1 2 3
▶タイマー
▶トレーナー
▶フライト MD
▶センタ ALM
▶TH カーブ
▶THR DLY
▶ジャイロ
▶DR EXP
Remember that if you
assign primary control of a
channel to a switch which you
later use for other functions
(like dual/triple rates or
airbrakes), every time you use
that other function you will
also be moving the auxiliary
channel.
Don't assign the function
it inuences each other to the
same switch.

Table of Contents

Related product manuals